Запчасти Case CX31B (03-032[00]) - BUCKET ASSY, 450W 0.07M³ (0.06M³) (84) - BOOMS, DIPPERS & BUCKETS

Схема запчастей Case CX31B - (03-032[00]) - BUCKET ASSY, 450W 0.07M³ (0.06M³) (84) - BOOMS, DIPPERS & BUCKETS
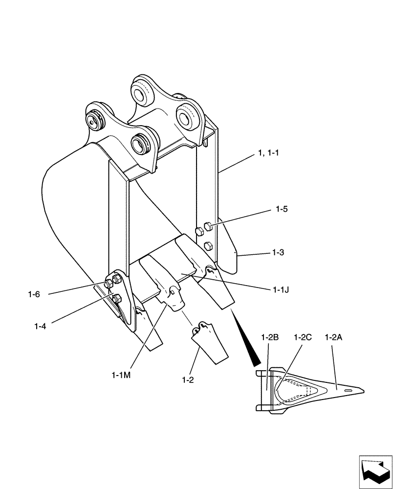
1-3
1-4
1-2a
1-2b
1-1j
1-5
1-2c
1-1m
1-2
1-6
1
1-1
FIT
1:1
100%

Артикул

Название

Примечание

Количество

PX61B00098F1

BUCKET

450W

1шт.

1

PX61B00099F1

BUCKET

1шт.

1-1

PX61B00100P1

1шт.

1-1j

PX69B01005P1

CUTTING EDGE

Cutting

1шт.

1-1m

YJ61B01001P1

ADAPTER

3шт.

1-2

YJ69B00002F1

BUCKET TOOTH

3шт.

1-2a

YJ69B00002S001

BUCKET TOOTH

1шт.

1-2b

YJ69B00002S002

PIN

1шт.

1-2c

YJ69B00002S003

RUBBER

1шт.

1-3

PV69B00002P1

CUTTER

Side

1шт.

1-4

PV69B00003P1

CUTTER

Side

1шт.

1-5

ZS13C16040

SCREW

6шт.

1-6

ZN13C16013

NUT

6шт.

Выбрано товаров: 13