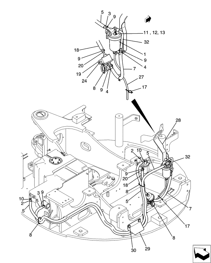
Запчасти Case CX31B (01-018[00]) - FUEL LINES, COOLER (10) - ENGINE

Схема запчастей Case CX31B - (01-018[00]) - FUEL LINES, COOLER (10) - ENGINE
18
8
9
13
1
4
20
3
4
5
10
7
24
17
9
27
8
12
7
30
19
9
29
8
28
5
11
8
18
3
32
9
9
10
20
2
32
2
9
5
17
5
5
FIT
1:1
100%

Артикул

Название

Примечание

Количество

PW21P00011F1

(Cooler)

1шт.

1

PW02P01046P1

SEPARATOR

Assy., Water

1шт.

2

PH21P01008D2

HOSE

1шт.

3

PH21P01003DL

HOSE

1шт.

4

PA21P01004DJ

HOSE ASSY.

1шт.

5

PW21P01003DS

TUBE

2шт.

7

PU13E01002D5

TUBE

1шт.

8

PY01P01043D3

CABLE TIE,188mm L

3шт.

9

PH05P01088D5

CLIP

6шт.

10

PH05P01088D6

CLIP

2шт.

11

ZS18C08075

SCREW,Hex, M8 x 75mm

Cap

1шт.

12

ZW16P08000

WASHER

1шт.

13

ZW26X08000

LOCK WASHER

Lock

1шт.

17

PA21P01003D2

CLIP

2шт.

18

PU13E01002DK

TUBE

1шт.

19

PW22P00001P1

FUEL PUMP

1шт.

20

PA21P01004DS

HOSE

1шт.

24

ZM73C06016

BOLT,M6x16mm - Course Thread

Sems

2шт.

27

HX11Y04053DX

FLEXIBLE HOSE,6mm ID x 530mm L

1шт.

28

PW21P01016P1

BRACKET

1шт.

29

PW21P01018P1

COVER

1шт.

30

ZM73C10020

BOLT,M10x20mm - Course Thread

Sems

2шт.

32

PM21P01010P1

HOSE ASSY.

1шт.

Выбрано товаров: 23