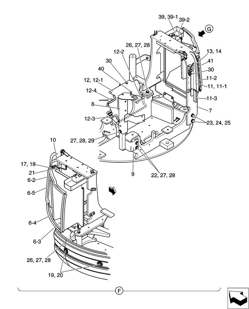
Запчасти Case CX31B (01-084[04]) - GUARD INSTAL, CAB (90) - PLATFORM, CAB, BODYWORK AND DECALS

Схема запчастей Case CX31B - (01-084[04]) - GUARD INSTAL, CAB (90) - PLATFORM, CAB, BODYWORK AND DECALS
27
39-2
20
21
12-1
12
6-5
40
24
22
12-4
11-2
18
39-1
26
17
11-1
12-3
12-2
39
27
11-3
11
25
28
10
13
7
28
6-2
28
29
6-4
14
6-3
30
19
8
28
27
30
41
9
26
27
23
FIT
1:1
100%

Артикул

Название

Примечание

Количество

6-2

YJ21C01079D2

WEATHERSTRIP

1шт.

6-3

YT21C01163D3

WEATHERSTRIP

1шт.

6-4

YT21C01163D7

WEATHERSTRIP

1шт.

6-5

YJ21C01079D7

WEATHERSTRIP

1шт.

7

PW21C01805P1

SUPPORT

1шт.

8

PW21C01715P2

STAY

1шт.

9

PW21C01652P1

BRACKET

1шт.

10

PW21C01669P1

STAY

1шт.

11

PW21C01797F1

PLATE

1шт.

11-1

PW21C01785P1

PLATE

1шт.

11-2

2427P1836D28

WEATHERSTRIP

1шт.

11-3

PH21C01136DK

RUBBER WEATHERSTRIP

1шт.

12

PW21C01660F1

GUARD ASSY.

1шт.

12-1

PW21C01661P1

GUARD

1шт.

12-2

YT21C01037D1

TRIM PANEL

1шт.

12-3

YJ21C01146D1

TRIM PANEL

1шт.

12-4

YJ21C01146D5

SOFT TRIM

1шт.

13

PW21C01689P1

STRIKER PLATE

1шт.

14

PW21C01699D1

SHIM

(1.2)

2шт.

17

ZW16X08000

WASHER,8mm ID x 17mm OD x 1.6mm Thk

2шт.

18

2419R9D2

COTTER PIN

2шт.

19

PA41C01005D3

BOLT

Sems

7шт.

20

YT21C01187P2

WASHER

6шт.

21

PA21C01133P1

BOLT

Sems

3шт.

22

ZS18C12040

SCREW,Hex, M12 x 40mm

Cap

2шт.

23

ZS18C16055

SCREW,Hex, M16 x 55mm

Cap

2шт.

24

ZW26X16000

LOCK WASHER

2шт.

25

ZW16H16000

WASHER

2шт.

26

ZS18C12050

SCREW,Hex, M12 x 50mm

Cap

2шт.

27

ZW26X12000

LOCK WASHER

10шт.

28

2418T10357

WASHER

8шт.

30

ZM22C08020

BOLT

Sems

6шт.

39

PW21C01741F1

BOX

1шт.

39-1

PW21C01748P2

BOX

1шт.

39-2

PW21C01729P2

RUBBER

1шт.

40

PM21C01202P1

BOLT

Sems

1шт.

41

YR21C01159P1

BOLT

Sems

2шт.

Выбрано товаров: 37