Запчасти Case CX31B (01-026[02]) - POWER TAKE-OFF ASSY, COOLER (35) - HYDRAULIC SYSTEMS

Схема запчастей Case CX31B - (01-026[02]) - POWER TAKE-OFF ASSY, COOLER (35) - HYDRAULIC SYSTEMS
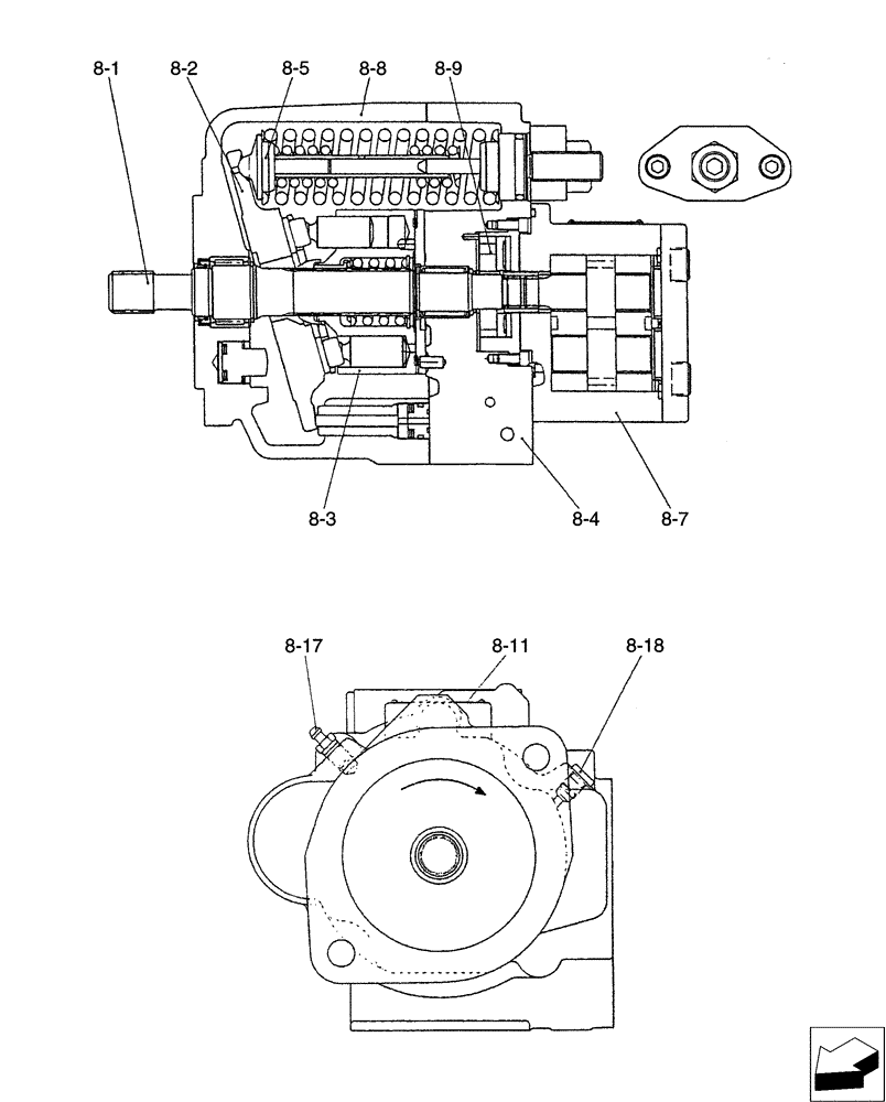
8-17
8-11
8-1
8-7
8-5
8-4
8-8
8-3
8-18
8-9
8-2
FIT
1:1
100%

Артикул

Название

Примечание

Количество

8-1

PX10V01004F1

SHAFT ASSY.

1шт.

8-2

PX10V01005F1

BLOCK ASSY.

1шт.

8-3

PX10V01006F1

ROTATOR

Piston Assy

1шт.

8-4

PX10V01007F1

COVER ASSY

1шт.

8-5

PX10V01008F1

SPRING

1шт.

8-7

PX10V00014F1

PUMP

Gear

1шт.

8-8

PX10V01009F1

HOUSING

1шт.

8-9

PX10V00015F1

PUMP

Hyd.

1шт.

8-11

PM10V00013S011

LABEL

1шт.

8-17

PY10V00007S017

BREATHER

1шт.

8-18

2441U720S49

PLUG

1шт.

Выбрано товаров: 11