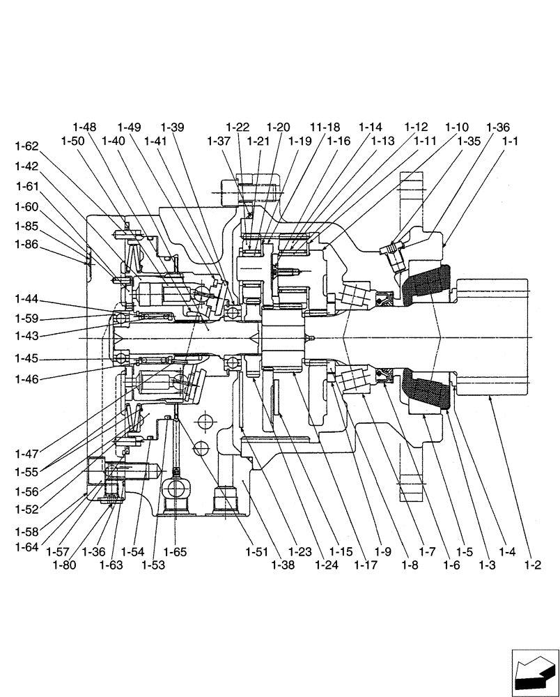
Запчасти Case CX31B (01-027[02]) - MOTOR INSTAL, SWING (35) - HYDRAULIC SYSTEMS

Схема запчастей Case CX31B - (01-027[02]) - MOTOR INSTAL, SWING (35) - HYDRAULIC SYSTEMS
1-53
1-12
1-19
1-5
1-50
1-42
1-45
1-59
1-16
11-18
1-62
1-22
1-47
1-1
1-52
1-85
1-49
1-39
1-9
1-46
1-51
1-82
1-55
1-39
1-14
1-60
1-23
1-17
1-57
1-8
1-10
1-13
1-48
1-2
1-11
1-43
1-35
1-40
1-63
1-56
1-4
1-37
1-38
1-24
1-21
1-44
1-65
1-6
1-61
1-15
1-86
1-41
1-64
1-3
1-7
1-58
1-54
1-36
1-20
FIT
1:1
100%

Артикул

Название

Примечание

Количество

1-1

NSS

NOT SOLD SEPARAT

Housing

1шт.

1-2

NSS

NOT SOLD SEPARAT

Shaft, Piston

1шт.

1-3

NSS

NOT SOLD SEPARAT

Plate

1шт.

1-4

PW15V00016S004

COLLAR

1шт.

1-5

NSS

NOT SOLD SEPARAT

Bearing, Roller

1шт.

1-6

YN15V00005S121

OIL SEAL

1шт.

1-9

PM15V00014S009

COLLAR

1шт.

1-10

PX15V01004S111

HOLDER

1шт.

1-11

PX15V01004S112

THRUST WASHER

4шт.

1-12

PX15V01004S113

RACE

Inner

4шт.

1-13

PX15V01004S114

NEEDLE BEARING

4шт.

1-14

PX15V01004S115

GEAR

Gear

4шт.

1-15

PW15V00016S015

PLATE

1шт.

1-16

PH10V00001S103

SCREW

4шт.

1-17

PX15V01004S212

GEAR

Sun

1шт.

1-18

PW15V00016S018

HOLDER

1шт.

1-19

PX15V01004S132

WASHER

Thrust

4шт.

1-20

PX15V01004S133

RACE

Inner

4шт.

1-21

PX15V01004S134

NEEDLE BEARING

4шт.

1-22

PW15V00016S022

GEAR

4шт.

1-23

NSS

NOT SOLD SEPARAT

Plat, Thrust

1шт.

1-24

PX15V00018S024

GEAR

1шт.

1-35

NSS

NOT SOLD SEPARAT

Plug

1шт.

1-36

ZD12P00800

O-RING,1.9mm Thk x 7.8mm ID, 90 Duro

3шт.

1-37

PM15V00014S019

O-RING

1шт.

1-38

PW15V00016S038

CASE

1шт.

1-39

PW15V00016S039

BALL BEARING

1шт.

1-40

PW15V00016S040

SHAFT

1шт.

1-41

PX15V01001S109

THRUST PLATE

1шт.

1-42

NSS

NOT SOLD SEPARAT

Block

1шт.

1-43

2441U942S36

COLLAR

1шт.

1-44

PX15V01001S115

SPRING

1шт.

1-45

PX15V01001S116

WASHER

1шт.

1-46

ZR26X03700

SNAP RING

1шт.

1-47

PX15V01001S113

PIN

3шт.

1-48

2441U942S41

HOLDER

1шт.

1-49

PM15V00014S031

PLATE

1шт.

1-50

NSS

NOT SOLD SEPARAT

Piston Assy.

9шт.

1-51

PM15V00014S033

PLATE

1шт.

1-52

PM15V00014S034

BRAKE

Plate

1шт.

1-53

ZD12G11000

O-RING,109.40mm ID x 115.60mm OD x 3.10mm

1шт.

1-54

ZD12G13500

O-RING,134.40mm ID x 140.60mm OD x 3.10mm

1шт.

1-55

PM15V00014S037

SPRING SEAT

2шт.

1-56

PM15V00014S038

SPRING-DISC

1шт.

1-57

PX15V00005S027

O-RING

1шт.

1-58

PM15V00014S040

COVER

1шт.

1-59

2441U942S48

BALL BEARING

1шт.

1-60

2441U901S19

PIN

1шт.

1-61

PX15V01001S105

PLATE

1шт.

1-62

PM15V00014S044

PIN

2шт.

1-63

ZD12P02100

O-RING,2.4mm Thk x 20.8mm ID, 90 Duro

2шт.

1-64

ZS23C12030

SCREW,Hex Socket Head, M12 x 30mm

Cap

7шт.

1-65

2441U942S61

ORIFICE

1шт.

1-66

NSS

NOT SOLD SEPARAT

Sleeve

1шт.

1-67

ZD12P01090

O-RING

1шт.

1-68

ZD12P01200

O-RING

1шт.

1-69

ZD12P01400

O-RING

3шт.

1-70

NSS

NOT SOLD SEPARAT

Spool

1шт.

1-71

2436R1749S11

WASHER

1шт.

1-72

PM15V00014S054

SPRING

1шт.

1-73

ZD12P01800

O-RING

1шт.

1-74

2441U792S141

PLUG

1шт.

1-75

PX22V00003F1

VALVE

Assy., Relief

2шт.

1-75h

ZD12P02400

O-RING

1шт.

1-75j

ZD12P01000

O-RING

1шт.

1-75l

ZD12P01200

O-RING

1шт.

1-75n

ZD85P01200

BACK-UP RING

2шт.

1-76

PX15V01005S202

CHECK VALVE

2шт.

1-77

PX15V01005S203

SPRING

2шт.

1-78

2441U802S58

PLUG

2шт.

1-80

LQ15V00007S015

PLUG

2шт.

1-82

2441U984S35

PLUG

1шт.

1-83

ZD12P01100

O-RING

1шт.

PM15V00014R400

REPAIR KIT

Consists Of Ref: 1-66(1), 1-67(1), 1-68(1), 1-69(1), 1-70(1)

1шт.

PM15V00014R100

REPAIR KIT

Consists Of Ref: 1-37(1), 1-53(1), 1-54(1), 1-73(1), 1-57(1), 1-67(1), 1-68(1), 1-83(1), 1-63(2), 1-36(3), 1-69(3)

1шт.

PM15V00014R200

REPAIR KIT

Consists Of Ref: 1-42(1), 1-50(9)

1шт.

PW15V00016R400

REPAIR KIT

Consists Of Ref: 1-23(1)

1шт.

PW15V00024R500

Consists Of Ref: 1-1(1), 1-2(1), 1-3(1), 1-4(1), 1-5(1), 1-6(1), 1-7(1), 1-9(1), 1-35(1), 1-36(1), 1-37(1), 1-8(2)

1шт.

Выбрано товаров: 78