Запчасти Case CX31B (01-029[05]) - VALVE INSTAL, ANGLE DOZER (35) - HYDRAULIC SYSTEMS

Схема запчастей Case CX31B - (01-029[05]) - VALVE INSTAL, ANGLE DOZER (35) - HYDRAULIC SYSTEMS
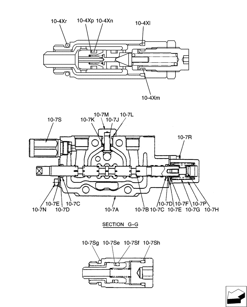
10-4xm
10-4xp
10-7r
10-7l
10-7d
10-7f
10-4xi
10-7g
10-7sh
10-7c
10-7sf
10-7d
10-7k
10-7a
10-7j
10-7h
10-7e
10-4xr
10-7b
10-7sg
10-7c
10-7s
10-7se
10-7m
10-7p
10-7n
10-4xi
10-7e
FIT
1:1
100%

Артикул

Название

Примечание

Количество

10-4xl

ZD12P01500

O-RING

1шт.

10-4xm

2436R612S13

O-RING

1шт.

10-4xn

PH22V00003S013

O-RING

2шт.

10-4xp

PH22V00003S014

BACK-UP RING

2шт.

10-4xr

ZD12P01400

O-RING

1шт.

10-7a

NSS

NOT SOLD SEPARAT

Body

1шт.

10-7b

NSS

NOT SOLD SEPARAT

Spool

1шт.

10-7c

NSS

NOT SOLD SEPARAT

O-Ring

2шт.

10-7d

NSS

NOT SOLD SEPARAT

Seal, Dust

2шт.

10-7e

NSS

NOT SOLD SEPARAT

Plate

2шт.

10-7f

NSS

NOT SOLD SEPARAT

Seat

2шт.

10-7g

NSS

NOT SOLD SEPARAT

Spring

1шт.

10-7h

NSS

NOT SOLD SEPARAT

Spool Assy.

1шт.

10-7j

PH30V00003S006

POPPET

1шт.

10-7k

PH30V00003S007

SPRING

1шт.

10-7l

ZD12P01100

O-RING

1шт.

10-7m

PH30V00003S009

PLUG

1шт.

10-7n

PH30V00003S010

CAPSCREW

2шт.

10-7p

PH30V00003S011

COVER

1шт.

10-7r

PW30V00027S015

CAP

Screw

2шт.

10-7s

PH21V00001F1

BLEEDER VALVE

1шт.

10-7se

YR30V00009S009

BACK-UP RING

1шт.

10-7sf

ZD11P01090

O-RING

1шт.

10-7sg

ZD12P01400

O-RING

1шт.

10-7sh

ZD12P01500

O-RING

1шт.

PX30V00053R100

REPAIR KIT

Repair Kit, Consists Of Ref: 10-7B(1),10-7C(1), 10-7D(1), 10-7E(1), 10-7F(1), 10-7G(1), 10-7H(1)

1шт.

Выбрано товаров: 26