Запчасти Case CX31B (HC002-72) - VALVE ASSY, CONTROL (ANGLE DOZER) (00) - GENERAL & PICTORIAL INDEX

Схема запчастей Case CX31B - (HC002-72) - VALVE ASSY, CONTROL (ANGLE DOZER) (00) - GENERAL & PICTORIAL INDEX
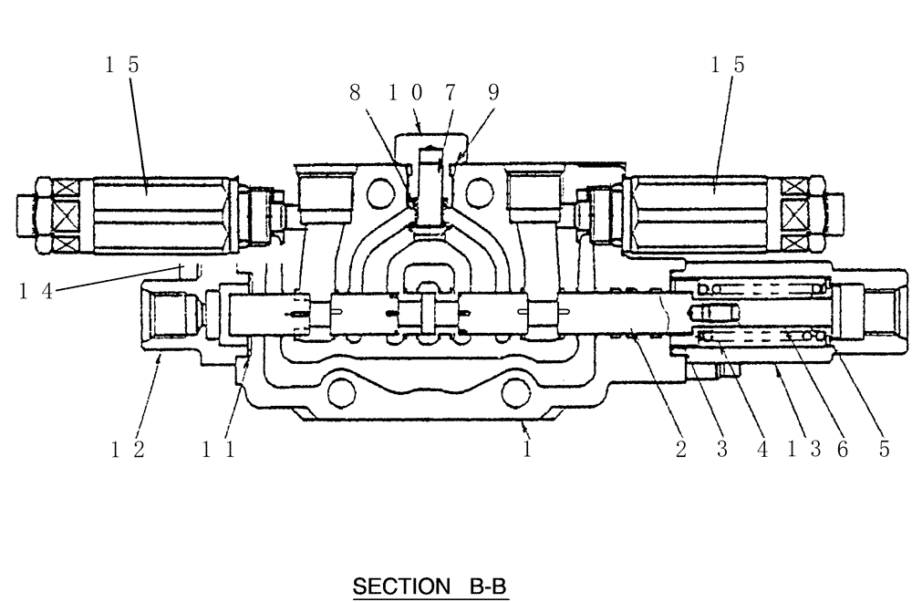
13
7
2
5
4
1
10
3
15
6
12
9
14
8
15
11
FIT
1:1
100%

Артикул

Название

Примечание

Количество

PX30V00077F2

VALVE SECTION

Valve , Control

1шт.

1

NSS

NOT SOLD SEPARAT

Body

1шт.

2

NSS

NOT SOLD SEPARAT

Spool

1шт.

3

NSS

NOT SOLD SEPARAT

Seat, Spring

1шт.

4

NSS

NOT SOLD SEPARAT

Spring

1шт.

5

NSS

NOT SOLD SEPARAT

Seat, Spring

1шт.

6

NSS

NOT SOLD SEPARAT

Bolt, Spacer

1шт.

7

PH30V00003S006

POPPET

1шт.

8

PH30V00003S007

SPRING

1шт.

9

ZD12P01100

O-RING

1шт.

10

PH30V00003S009

PLUG

1шт.

11

PW30V01008S011

O-RING

2шт.

12

PM30V00021S012

COVER

1шт.

13

PM30V00021S013

COVER

1шт.

14

PM30V00021S014

SCREW

Cap

4шт.

15

PM22V00005F3

VALVE PRESSURE RELIE

Assy, Overload (See HC019)

2шт.

SEE (HC019)

1шт.

k

PX30V00049R300

REPAIR KIT

Repair Kit Consists Of Item 2x1, 3x1, 4x1, 5x1

1шт.

Выбрано товаров: 18