Запчасти Case CX31B (HC023-01) - PLUG ASSY (00) - GENERAL & PICTORIAL INDEX

Схема запчастей Case CX31B - (HC023-01) - PLUG ASSY (00) - GENERAL & PICTORIAL INDEX
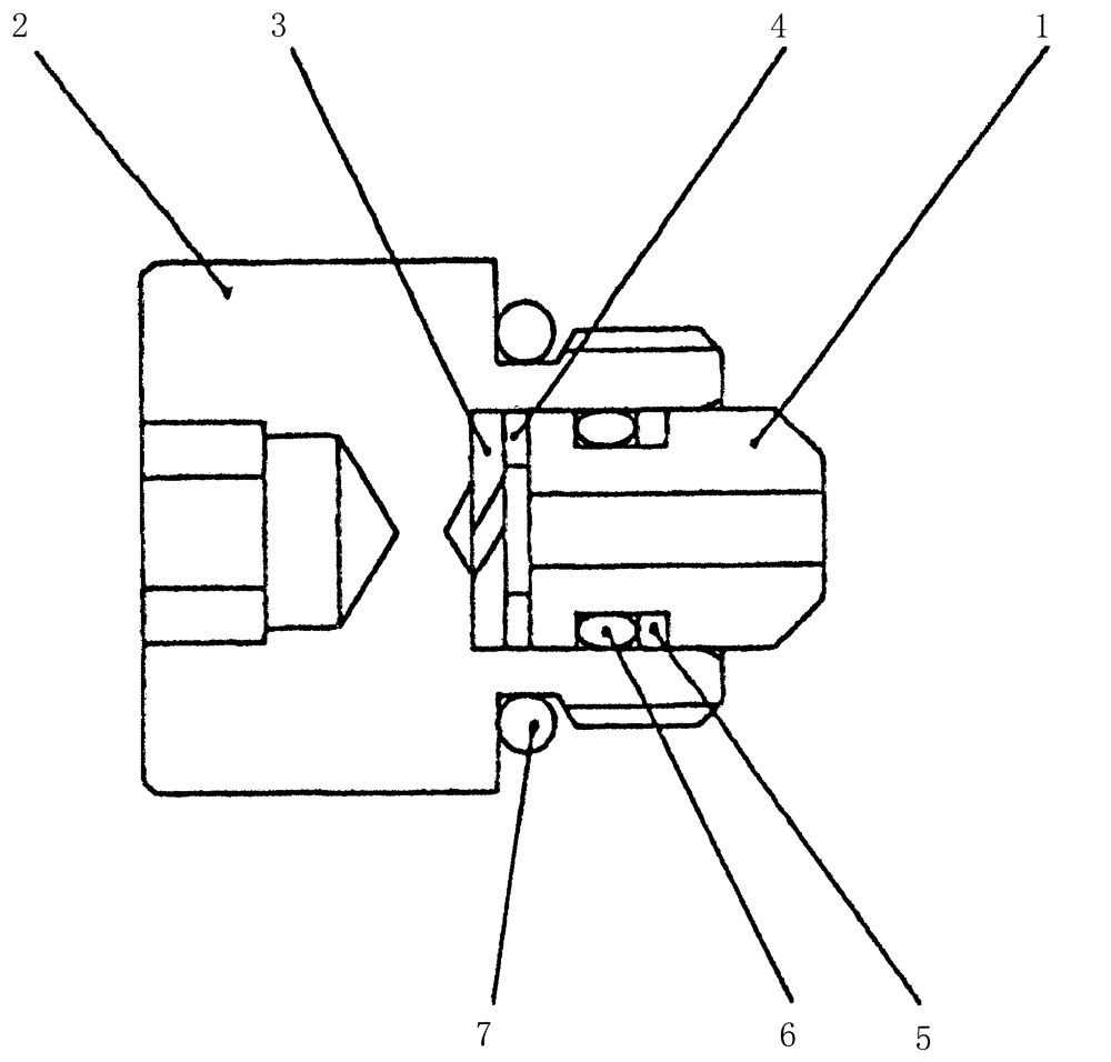
6
4
7
2
3
5
1
FIT
1:1
100%

Артикул

Название

Примечание

Количество

PH50T00001F1

PLUG

Assy

1шт.

1

NSS

NOT SOLD SEPARAT

Plug

1шт.

2

NSS

NOT SOLD SEPARAT

Plug

1шт.

3

NSS

NOT SOLD SEPARAT

Lock Washer

1шт.

4

NSS

NOT SOLD SEPARAT

Washer

1шт.

5

ZD85P00700

BACK-UP RING

1шт.

6

ZD12P00700

O-RING,1.6mm Thk x 6.8mm ID, 90 Duro

O-Ring

1шт.

7

ZD12P01400

O-RING

1шт.

Выбрано товаров: 8