Запчасти Case CX31B (HC405-01) - SPRING ASSY (00) - GENERAL & PICTORIAL INDEX

Схема запчастей Case CX31B - (HC405-01) - SPRING ASSY (00) - GENERAL & PICTORIAL INDEX
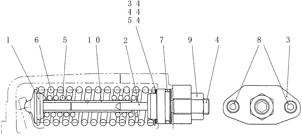
2
4
5
44
1
6
34
10
9
7
54
3
8
FIT
1:1
100%

Артикул

Название

Примечание

Количество

PX10V01008F1

SPRING

Assy

1шт.

1

PX10V01008S001

SEAT

Spring

1шт.

2

PX10V01008S002

SEAT

Spring

1шт.

3

PX10V01008S003

COVER

1шт.

4

PY10V01004S004

ADJUSTMENT SCREW

1шт.

5

PX10V01008S005

SPRING

1шт.

6

PX10V01008S006

SPRING

1шт.

7

ZD11P03000

O-RING

1шт.

8

ZS23C08030

SCREW,Hex Socket Head, M8 x 30mm

Cap

2шт.

9

PY10V01004S009

NUT

1шт.

10

PX10V01008S010

GUIDE

1шт.

34

PX10V01008S034

SHIM,1.0mm Thk

1. 0)

2шт.

44

PX10V01008S044

SHIM,0.5mm Thk

(0. 5)

2шт.

54

PX10V01008S054

SHIM,0.3mm Thk

(0. 3)

2шт.

Выбрано товаров: 14