Запчасти Case CX31B (HC407-01) - PUMP ASSY (00) - GENERAL & PICTORIAL INDEX

Схема запчастей Case CX31B - (HC407-01) - PUMP ASSY (00) - GENERAL & PICTORIAL INDEX
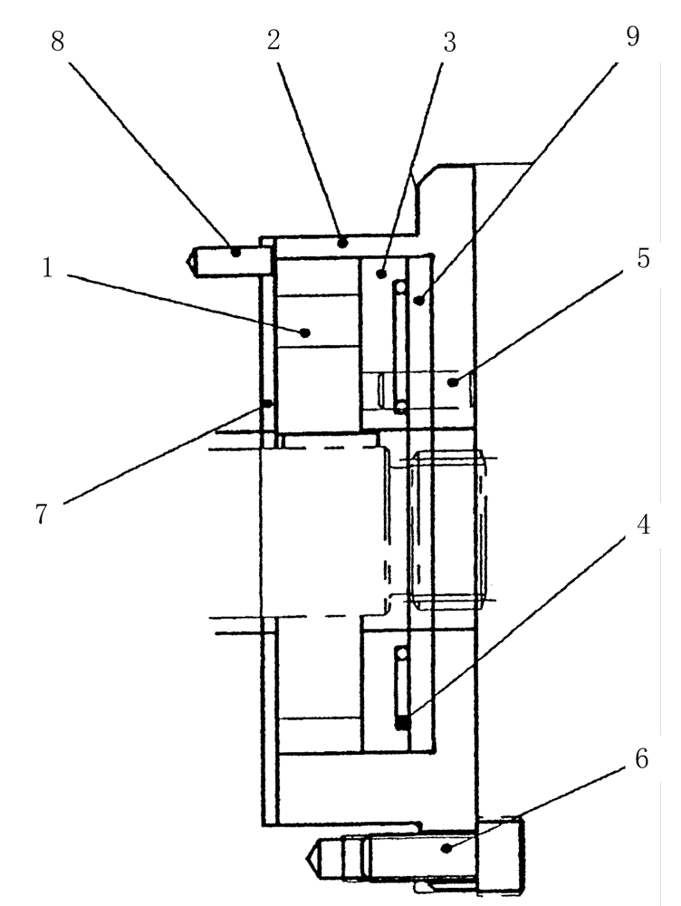
4
6
5
7
9
1
2
3
8
FIT
1:1
100%

Артикул

Название

Примечание

Количество

PX10V00015F1

PUMP

Assy

1шт.

1

NSS

NOT SOLD SEPARAT

Gear

1шт.

2

NSS

NOT SOLD SEPARAT

Case

1шт.

3

NSS

NOT SOLD SEPARAT

Plate

1шт.

4

PX10V00015S004

O-RING

1шт.

5

LE10V01001S039

PIN

Spring

1шт.

6

PH10V00007S006

CAPSCREW

Cap

3шт.

7

NSS

NOT SOLD SEPARAT

Plate

1шт.

8

ZP26D03008

PIN

Spring

1шт.

9

PM10V00015S009

PLATE

1шт.

Выбрано товаров: 10