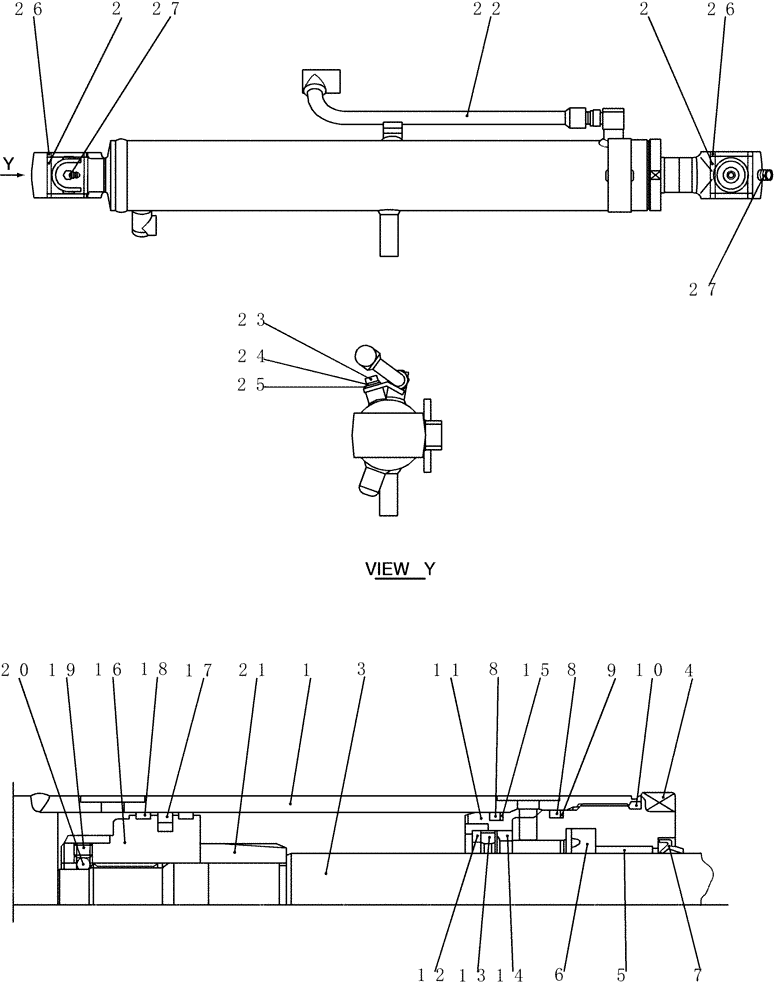
Запчасти Case CX31B (HC600-01[2]) - CYLINDER ASSY, BOOM (00) - GENERAL & PICTORIAL INDEX

Схема запчастей Case CX31B - (HC600-01[2]) - CYLINDER ASSY, BOOM (00) - GENERAL & PICTORIAL INDEX
7
8
11
17
2
13
22
21
4
18
10
3
24
27
5
2
6
26
8
15
16
26
1
12
25
20
19
14
9
27
23
FIT
1:1
100%

Артикул

Название

Примечание

Количество

PW01V00068F1

CYLINDER,Double Acting, 45mm Rod, 585mm Stroke

Assy, Boom

1шт.

1

NSS

NOT SOLD SEPARAT

Tube, Cylinder

1шт.

2

PW01V01086D1

BUSHING

2шт.

3

NSS

NOT SOLD SEPARAT

Rod, Piston

1шт.

4

PW01V00068S004

CYLINDER END CAP

Head

1шт.

5

PV01V00047S019

BUSHING

1шт.

6

2438U635S3

RING

U

1шт.

7

PH01V00006S006

RING

Ring

1шт.

8

ZD12G07500

O-RING,74.40mm ID x 80.60mm OD x 3.10mm

2шт.

9

PH01V00015S008

BACK-UP RING

1шт.

10

ZD12G08000

O-RING,79.40mm ID x 85.60mm OD x 3.10mm

1шт.

11

PX01V00045S011

HOLDER

1шт.

12

PH01V00015S024

CAP

Spacer

1шт.

13

PH01V00015S011

SEAL

Cushion

1шт.

14

PW01V00068S014

COLLAR

Collar

1шт.

15

PW01V00014S008

BACK-UP RING

1шт.

16

PX01V00045S017

PISTON

1шт.

17

2438U852S15

RING

Seal

1шт.

18

PW01V00068S018

RING

Ring, Slide

2шт.

19

2438U1057S16

SET SCREW

Setscrew

1шт.

20

2436U946S11

BALL

1шт.

21

PX01V00045S022

CUSHION

Bearing

1шт.

22

PW01V00064S022

TUBE ASSY.

1шт.

23

PM01V00060S025

CAPSCREW

Cap

1шт.

24

ZW22K10000

LOCK WASHER

Lock

1шт.

25

PR01V00002S024

WASHER

1шт.

26

PR01V00002S027

SEAL

Dust

4шт.

27

ZG91V02000

LUBE NIPPLE,67 Degree x 1/8" PT

Grease

2шт.

k

PW01V00068R100

REPAIR KIT

Consists Of Item 1x1, 2x1, 26x2

1шт.

k

PW01V00064R400

REPAIR KIT

Consists Of Item 2x1, 3x1, 26x2

1шт.

k

PX01V00045R300

REPAIR KIT

Consists Of Item 6x1, 7x1, 8x2, 9x1

1шт.

Выбрано товаров: 31