Запчасти Case CX31B (HC700-01) - CYLINDER ASSY, BUCKET (00) - GENERAL & PICTORIAL INDEX

Схема запчастей Case CX31B - (HC700-01) - CYLINDER ASSY, BUCKET (00) - GENERAL & PICTORIAL INDEX
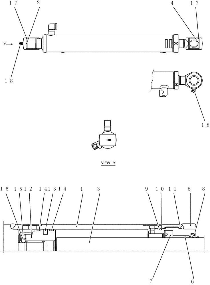
16
17
4
6
11
14
2
17
1
7
5
12
18
15
13
9
14
8
3
18
10
FIT
1:1
100%

Артикул

Название

Примечание

Количество

PX01V00064F1

HYDRAULIC CYLINDER

Assy, Bucket

1шт.

1

NSS

NOT SOLD SEPARAT

Tube, Cylinder

1шт.

2

PV12B01186D1

BUSHING

1шт.

3

NSS

NOT SOLD SEPARAT

Rod, Piston

1шт.

4

PX01V00041S004

BUSHING

1шт.

5

PX01V00041S005

CYLINDER HEAD

1шт.

6

PM01V00060S031

BUSHING

1шт.

7

2438U477S6

RING

U

1шт.

8

PH01V00004S006

WIPER

Ring

1шт.

9

ZD12G06000

O-RING,59.40mm ID x 65.60mm OD x 3.10mm

1шт.

10

PW01V00046S008

BACK-UP RING,62mm ID x 68mm OD x 2.5mm Thk

1шт.

11

ZD12G06500

O-RING,64.40mm ID x 70.60mm OD x 3.10mm

1шт.

12

PX01V00041S012

PISTON

1шт.

13

2438U1289S16

RING,48mm ID x 58mm OD x 5mm Thk

Seal

1шт.

14

PM01V00067S019

RING,51mm ID x 67mm OD x 3mm Thk

Slide

2шт.

15

2438U1057S16

SET SCREW

Setscrew

1шт.

16

2436U946S11

BALL

1шт.

17

PR01V00002S027

SEAL

Dust

4шт.

18

ZG91U02000

LUBE NIPPLE

Grease

2шт.

k

PX01V00064R100

REPAIR KIT

Consists Of Item 1x1, 2x1, 17x2

1шт.

k

PX01V00041R200

ROD

Repair Kit Consists Of Item 3x1, 4x1, 17x2

1шт.

k

PX01V00041R300

REPAIR KIT

Consists Of Item 7x1, 8x1, 9x1, 10x1

1шт.

Выбрано товаров: 22