Запчасти Case CX31B (HC930-01) - JOINT ASSY, SWIVEL (00) - GENERAL & PICTORIAL INDEX

Схема запчастей Case CX31B - (HC930-01) - JOINT ASSY, SWIVEL (00) - GENERAL & PICTORIAL INDEX
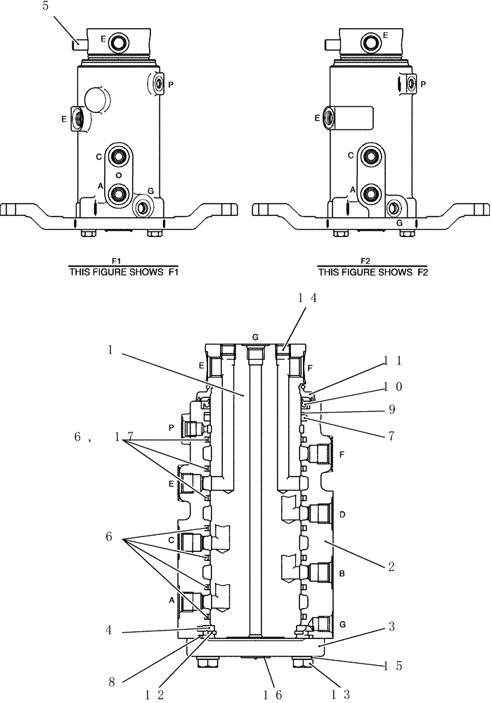
8
2
5
10
1
6
15
9
13
11
16
4
14
7
12
3
FIT
1:1
100%

Артикул

Название

Примечание

Количество

PW55V00015F1

JOINT ASSY.

Swivel

1шт.

PW55V00015F2

JOINT ASSY.

Swivel

1шт.

1

PW55V00015S001

SHAFT

1шт.

2

PW55V00015S002

ROTOR

1шт.

3

PW55V00001S003

FLANGE

1шт.

4

PW55V00001S004

SPACER

1шт.

5

PW55V00001S005

PIN

1шт.

6

PW55V00015S006

SEAL

(For F1 ONLY)

7шт.

PW55V00015S006

SEAL

(For F2 ONLY)

4шт.

7

ZD12P08000

O-RING

1шт.

8

ZD12G09500

O-RING,3.1mm Thk x 94.4mm ID, 90 Duro

O-ring

1шт.

9

ZD75P08000

BACK-UP RING

1шт.

10

PW55V00001S010

SEAL

Dust

1шт.

11

PW55V00001S011

SEAL

Dust

1шт.

12

PW55V00001S012

SNAP RING

Retaining

1шт.

13

ZS13C10030

SCREW

Cap

4шт.

14

ZE82T04000

PLUG

3шт.

15

ZW22K10000

LOCK WASHER

4шт.

16

NSS

NOT SOLD SEPARAT

Name Plate

1шт.

17

PW55V00015S017

SEAL

(For F2 ONLY)

3шт.

Выбрано товаров: 20