Запчасти Case CX31B (154-72[1]) - CONTROL LINES, REMOTER (NIBBLER & BREAKER, ANGLE DOZER) (00) - GENERAL & PICTORIAL INDEX

Схема запчастей Case CX31B - (154-72[1]) - CONTROL LINES, REMOTER (NIBBLER & BREAKER, ANGLE DOZER) (00) - GENERAL & PICTORIAL INDEX
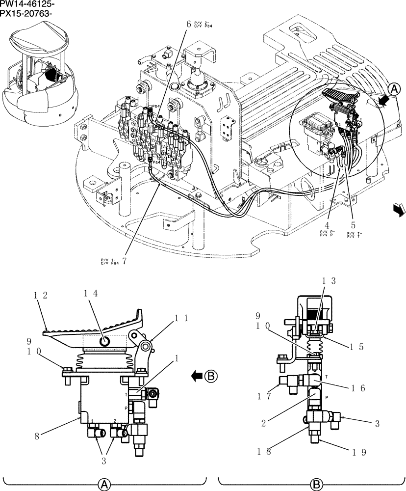
7
1
10
16
4
5
18
12
9
13
19
11
3
2
17
8
3
6
9
15
14
10
FIT
1:1
100%

Артикул

Название

Примечание

Количество

PW68H00045F1

Control, Remote (Nibbler & Breaker)

1шт.

1

2444Z2525

HYD CONNECTOR

1шт.

2

PH62H01003P1

ELBOW

1шт.

3

HH35S04004G1

90 ELBOW

3шт.

4

HX34L04034DX

HOSE,6.3mm ID x 340mm L

1шт.

5

HX32L04042DX

FLEXIBLE HOSE

Hose

1шт.

6

HX23L03170DX

HOSE

1шт.

7

HX33L03155DX

HOSE

1шт.

8

PB30V00002F2

PILOT VALVE

Assy

1шт.

See(C.P.M)

1шт.

9

ZS18C08025

SCREW,Hex, M8 x 25mm

Cap

3шт.

10

ZW16H08000

WASHER

3шт.

11

PW03M01852PI

Lock

1шт.

12

PW55M01041P1

PEDAL

1шт.

13

PA03M01093D1

BOLT

Sems

2шт.

14

PA03M01093D2

BOLT

Sems

2шт.

15

PW55M01042P2

PLATE

1шт.

16

2444Z2894

90 ELBOW

Elbow

1шт.

17

HH55L04004G1

TEE

1шт.

18

HH55Q04004G1

TEE,1/4" ORB x 1/4" JIC x 1/4" JIC

1шт.

19

HH25S04004G1

HYD CONNECTOR

1шт.

Выбрано товаров: 21