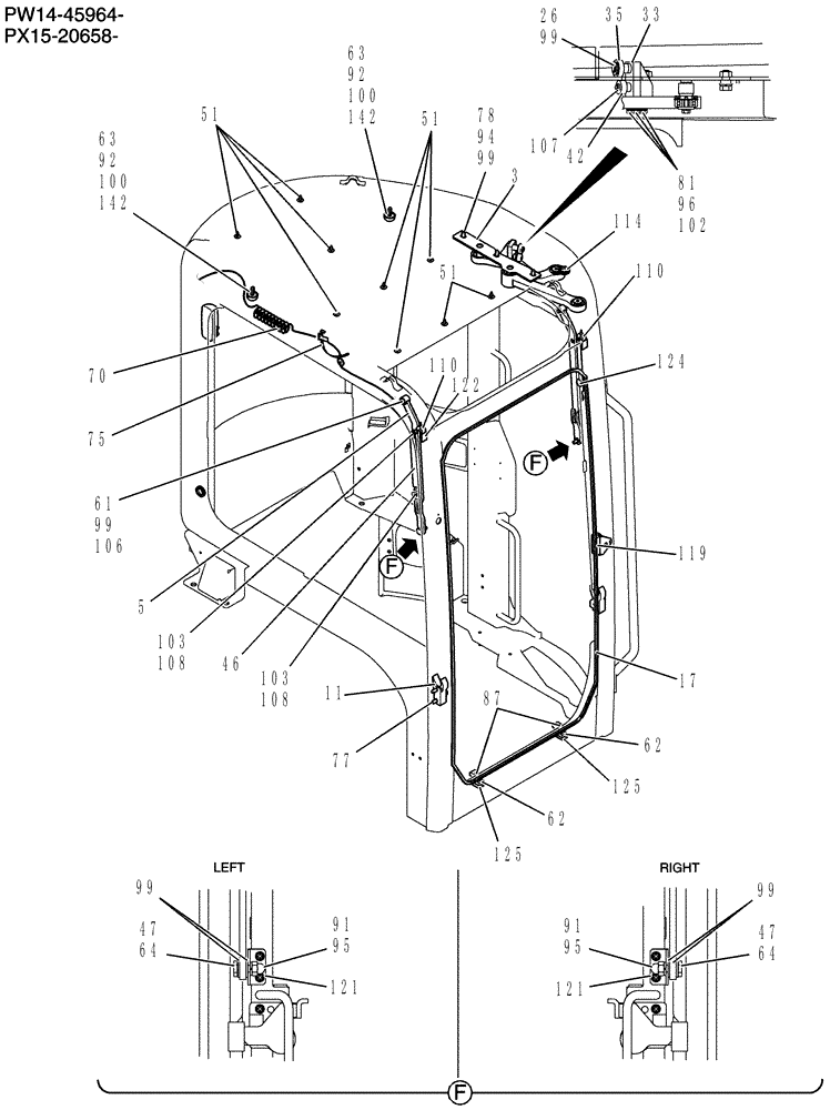
Запчасти Case CX31B (180-01[4]) - CAB ASSEMBLY (00) - GENERAL & PICTORIAL INDEX

Схема запчастей Case CX31B - (180-01[4]) - CAB ASSEMBLY (00) - GENERAL & PICTORIAL INDEX
64
5
62
99
77
100
125
92
17
95
63
110
47
61
107
102
51
92
3
100
99
78
99
70
114
64
103
106
11
91
35
110
103
119
142
26
51
75
124
94
108
125
91
108
95
42
33
81
47
99
51
99
121
87
46
121
62
122
96
63
142
FIT
1:1
100%

Артикул

Название

Примечание

Количество

3

PW02C01071P1

BRACKET

1шт.

5

PW02C01144P2

LINK

1шт.

11

PW02C01115P1

STOP

1шт.

17

PW02C01185D1

SEAL,3900mm L

1шт.

26

ZR16X01200

RING

Retaining

1шт.

33

PM02C01477P1

LINK

1шт.

35

PM02C01434P1

BEARING,12mm ID x 32mm OD x 10mm W

1шт.

42

YT50C01024P1

ROLLER

1шт.

46

PM02C01133P2

SPRING

1шт.

47

PM02C01257P1

SPECIAL PIN

2шт.

51

YT02C01324P1

CLIP

9шт.

61

2405U104D012020

BUSHING

1шт.

62

PM02C01356P2

STOP

2шт.

63

YT02C01066P1

STOP

2шт.

64

2405U104D012008

BUSHING

2шт.

70

YT02C01104P2

HARNESS

Harness

1шт.

75

YN03E01001D5

CLIP

1шт.

77

ZM46C05025

BOLT

Sems

2шт.

78

ZS18C12030

SCREW,Hex, M12 x 30mm

Cap

3шт.

81

ZS18C08035

SCREW,Hex, M8 x 35mm

Cap

3шт.

87

ZS31C05025

SCREW,Phillips Drive, Pan HD, M5 x 25mm

Machine

2шт.

91

ZN46C10018

NUT

2шт.

92

ZN18F10008

NUT

2шт.

94

ZW26X12000

LOCK WASHER

3шт.

95

ZW26X10000

LOCK WASHER

2шт.

96

ZW26X08000

LOCK WASHER

3шт.

99

ZW16P12000

WASHER

11шт.

100

ZW16K10000

WASHER

2шт.

102

ZW16X08000

WASHER,8mm ID x 17mm OD x 1.6mm Thk

3шт.

103

ZW16X06000

WASHER

3шт.

106

ZR36X01000

RING

Retaining

1шт.

107

ZR36X00700

RING

Retaining

1шт.

108

ZR36X00500

SNAP RING

Retaining

2шт.

110

PM02C01396P1

STOP

2шт.

114

PM21C01146P1

GROMMET

1шт.

119

PM02C01212P1

BLOCK

Tapped

1шт.

121

PM02C01504D1

SHIM,0.5mm Thk

(0.5)

3шт.

124

YT02C01567D2

PLATE

1шт.

125

PM02C01505P1

SHIM,1.0mm Thk

(1.0)

4шт.

142

2418T5373C2

WASHER

2шт.

Выбрано товаров: 40