Запчасти Case CX31B (02-008) - ROLLER ASSY, UPP (39) - FRAMES AND BALLASTING

Схема запчастей Case CX31B - (02-008) - ROLLER ASSY, UPP (39) - FRAMES AND BALLASTING
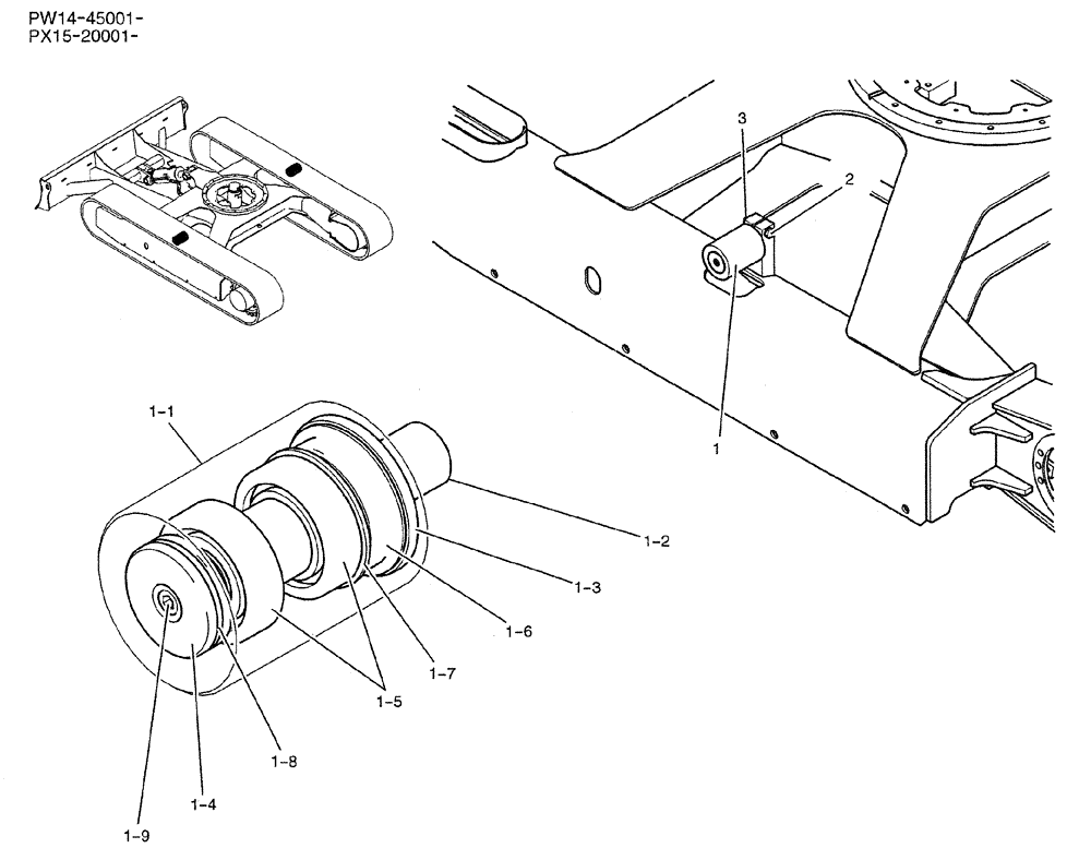
1-8
1
1-3
1-6
2
1-2
1-1
1-4
3
1-5
1-9
1-7
FIT
1:1
100%

Артикул

Название

Примечание

Количество

PW64D00008F1

ROLLER

ASSY, Upper

1шт.

1

PW64D01017F1

ROLLER ASSY.

2шт.

1-1

PW64D01018P1

ROLLER

1шт.

1-2

PW64D01019P1

SHAFT

1шт.

1-3

PV64D01001P1

COVER

1шт.

1-4

PW64D01020P1

COVER

1шт.

1-5

PU64D01004P1

BEARING

2шт.

1-6

2445Z1503

SEAL

1шт.

1-7

ZR26X05200

RING

1шт.

1-8

ZD11G04000

O-RING,39.40mm ID x 45.60mm OD x 3.10mm

1шт.

1-9

PV52D01007P1

PLUG

1шт.

2

ZS18C10060

SCREW,Hex, M10 x 60mm

CAP

2шт.

3

ZN18C10008

NUT

7шт.

Выбрано товаров: 13