Запчасти Case CX31B (01-048) - CAB ASSY (90) - PLATFORM, CAB, BODYWORK AND DECALS

Схема запчастей Case CX31B - (01-048) - CAB ASSY (90) - PLATFORM, CAB, BODYWORK AND DECALS
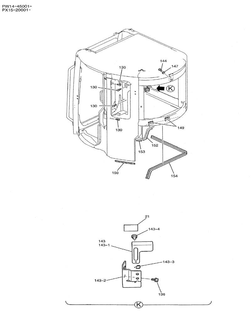
130
144
21
143-2
149
143-4
143-3
136
153
152
130
150
130
147
154
130
143-1
143
FIT
1:1
100%

Артикул

Название

Примечание

Количество

21

PA33H01057P1

RUBBER

1шт.

130

2420Z1227D2

SCREW

MACHINE

8шт.

136

ZM46C06016

SCREW

SEMS

2шт.

143

PW02C01265F1

BRACKET

ASSY

1шт.

143-1

PW02C01260P1

PLATE

1шт.

143-2

PW02C01261P1

PLATE

1шт.

143-3

PW02C01262P1

SPRING

1шт.

143-4

PM02C01346P1

PIN

2шт.

144

YR02C01503P1

STOP

1шт.

147

ZN17C10006

NUT

1шт.

149

PY02C01087P1

STOP

2шт.

150

PW02C01342D1

WEATHERSTRIP

1шт.

152

PF21C01175D2

RUBBER

1шт.

153

PF21C01175D3

RUBBER

1шт.

154

PW02C01353P1

WEATHERSTRIP

1шт.

Выбрано товаров: 15