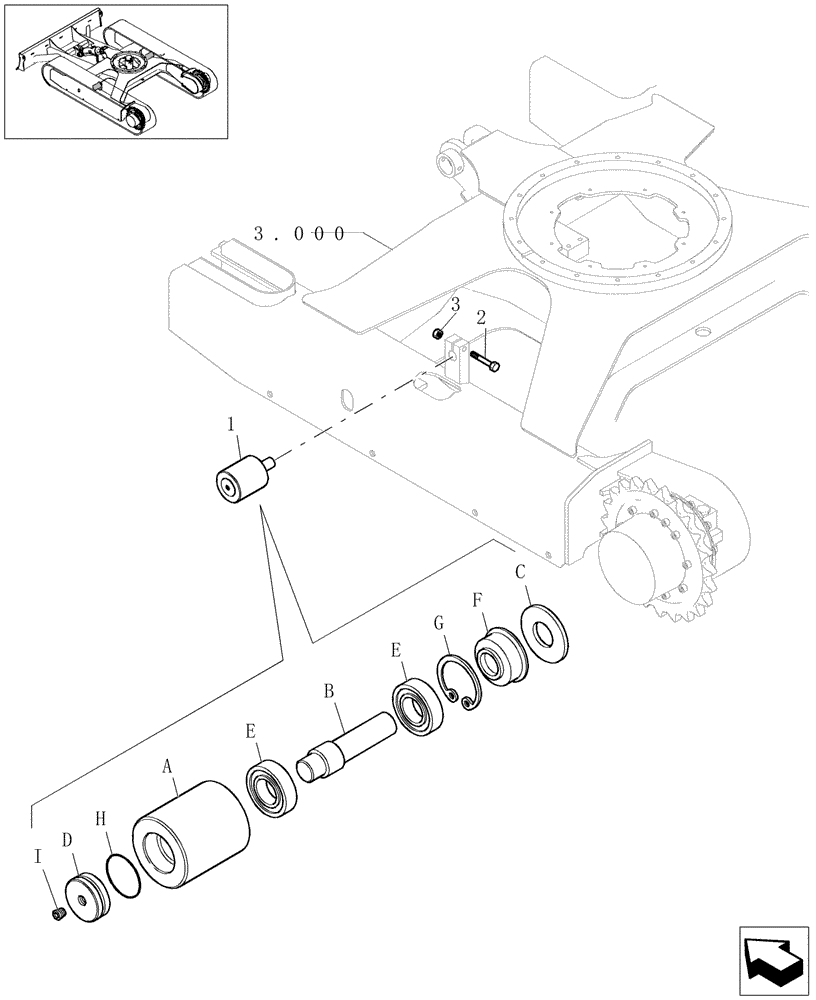
Запчасти Case CX31B (3.030[01]) - RULLER UPPER - COMPONENTS (48) - TRACKS & TRACK SUSPENSION

Схема запчастей Case CX31B - (3.030[01]) - RULLER UPPER - COMPONENTS (48) - TRACKS & TRACK SUSPENSION
2
3
b
i
f
3.000
g
e
c
e
d
h
a
1
FIT
1:1
100%

Артикул

Название

Примечание

Количество

1

72281898

ROLLER

Assy

1шт.

1a

72951437

ROLLER

1шт.

1b

72951438

SHAFT

1шт.

1c

72951027

WASHER

1шт.

1d

72951439

COVER

1шт.

1e

72951005

BALL BEARING,25 mm ID x 52 mm OD x 15 mm

2шт.

1f

72950430

SEAL

1шт.

1g

72951670

RING

1шт.

1h

72211283

O-RING

1шт.

1i

72951026

PLUG

1шт.

2

11107434

SCREW,Hex, M10 x 60mm, Cl 10.9

TE M10x60

2шт.

3

11701724

NUT

M10

2шт.

Выбрано товаров: 12