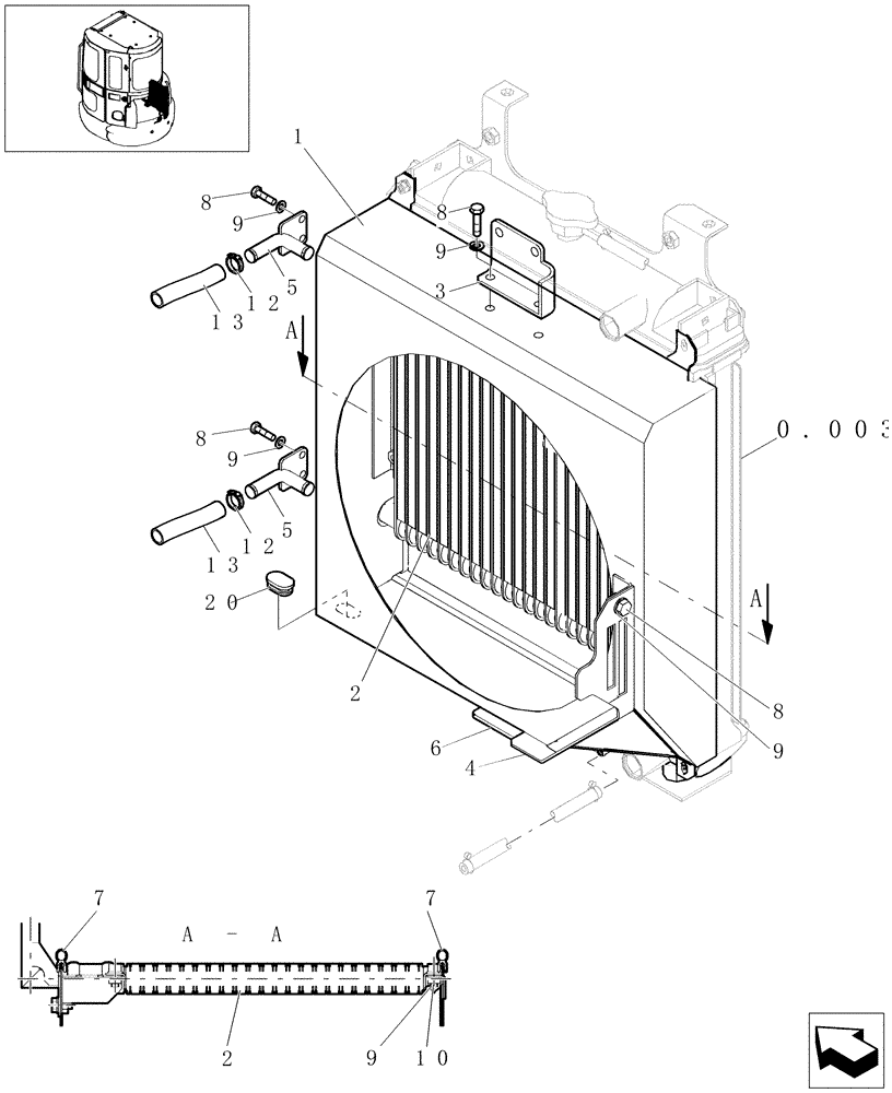
Запчасти Case CX31B (5.0604[07]) - RADIATOR - COMPONENTS (HEATER&COOLER, CAB) - 747939020 (10) - ENGINE

Схема запчастей Case CX31B - (5.0604[07]) - RADIATOR - COMPONENTS (HEATER&COOLER, CAB) - 747939020 (10) - ENGINE
9
13
20
a - a
5
9
13
8
5
6
7
8
8
4
7
2
12
2
a
9
a
1
10
12
9
8
0.003
9
3
FIT
1:1
100%

Артикул

Название

Примечание

Количество

1

87568194

SHROUD

1шт.

2

87568195

OIL COOLER

Hydraulic

1шт.

3

87568197

PLATE

1шт.

4

72285475

GUARD

1шт.

5

87568199

TUBE

2шт.

6

72280577

RUBBER WEATHERSTRIP

2шт.

7

87568202

RUBBER WEATHERSTRIP

2шт.

8

16043231

SCREW,Hex, M8 x 16mm, Cl 10.9, Full Thd

8шт.

9

14496521

WASHER,8.4mm ID x 17mm OD x 1.6mm Thk

12шт.

10

14306274

SCREW,M8 x 16mm, Cl 12.9

4шт.

12

87526520

CLAMP

4шт.

13

87568205

FLEXIBLE HOSE

2шт.

15

87568208

GROMMET

2шт.

Выбрано товаров: 13