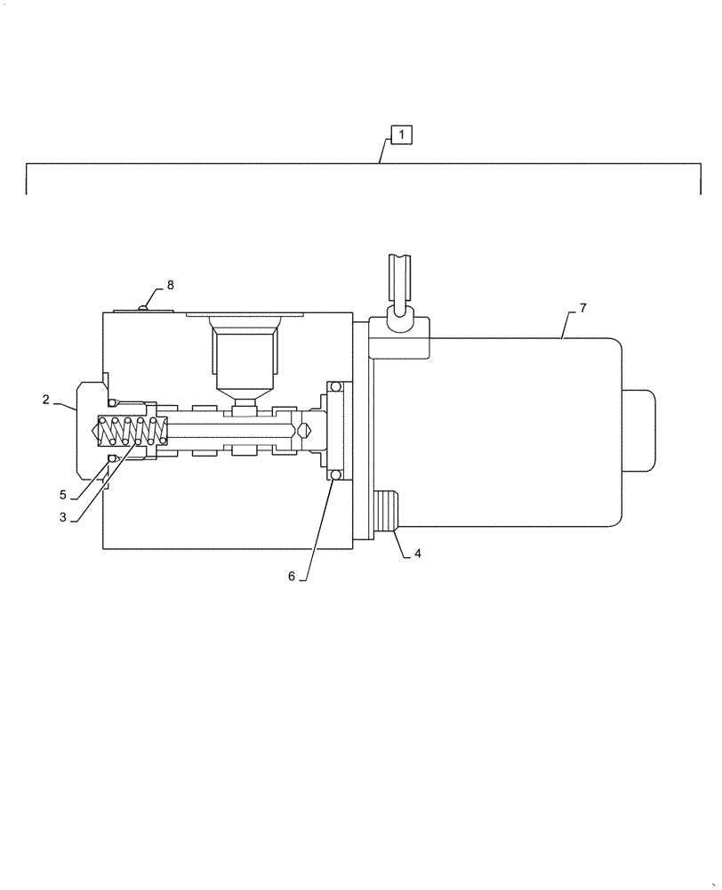
Запчасти Case CX31B (35.359.AE[14]) - SOLENOID, VALVE, NIBBLER & BREAKER, CAB (35) - HYDRAULIC SYSTEMS

Схема запчастей Case CX31B - (35.359.AE[14]) - SOLENOID, VALVE, NIBBLER & BREAKER, CAB (35) - HYDRAULIC SYSTEMS
4
2
8
1
7
6
5
3
FIT
1:1
100%

Артикул

Название

Примечание

Количество

1

YJ35V00004F2

SOLENOID VALVE

(Used for Power Shift (Cooler Spec)) Incl 2 - 8

1шт.

2

2436U2159S3

PLUG

1шт.

3

2436U2802S3

SPRING

1шт.

4

EN35V00004S010

BOLT

2шт.

5

ZD11P01000

O-RING

1шт.

6

ZD11P01600

O-RING

1шт.

7

PY35V00009S007

SOLENOID

1шт.

8

YN30V00080S023

SCREW

2шт.

Выбрано товаров: 0