Запчасти Case CX31B (35.359.AE[20]) - VALVE, ASSY, SOLENOID, NIBBLER & BREAKER (35) - HYDRAULIC SYSTEMS

Схема запчастей Case CX31B - (35.359.AE[20]) - VALVE, ASSY, SOLENOID, NIBBLER & BREAKER (35) - HYDRAULIC SYSTEMS
4
6
1
3
9
2
4
5
7
8
FIT
1:1
100%

Артикул

Название

Примечание

Количество

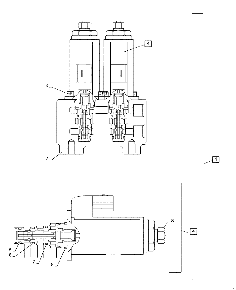
1

PW35V00002F1

SOLENOID VALVE

Assy, Incl 2 - 9 (Used Nibbler Open/Close Proportional, Revolution Left/Right Proportional, Extra Proportional Left/Right)

1шт.

2

PW35V00002S101

BODY

1шт.

3

YN35V00047S171

SCREW,Hex Socket Head, M5 x 12mm

Cap

4шт.

4

PW35V00003F1

SOLENOID VALVE

Solenoid, Incl 5 - 9

2шт.

5

YN35V00004S361

O-RING

1шт.

6

YN35V00004S362

O-RING

1шт.

7

YN35V00004S363

O-RING

1шт.

8

YN35V00018S802

NUT

1шт.

9

ZD12P02000

O-RING,2.4mm Thk x 19.8mm ID, 90 Duro

1шт.

Выбрано товаров: 9