Запчасти Case CX31B (35.736.AA[02]) - CYLINDER, BOOM (35) - HYDRAULIC SYSTEMS

Схема запчастей Case CX31B - (35.736.AA[02]) - CYLINDER, BOOM (35) - HYDRAULIC SYSTEMS
27
25
27
19
27
27
27
26
25
27
26
9
16
20
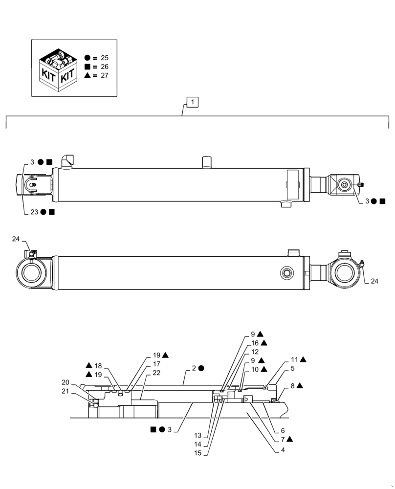
1
26
25
25
24
27
14
26
15
27
26
25
22
3
23
27
27
19
2
5
24
9
13
12
11
10
8
27
27
21
7
17
3
18
25
4
26
3
25
6
FIT
1:1
100%

Артикул

Название

Примечание

Количество

1

PW01V00074F1

HYDRAULIC CYLINDER

Boom, Incl 2 - 24

1шт.

2

NSS

NOT SOLD SEPARAT

Tube Assy, Incl in 1, 25

1шт.

3

PX01V00043S002

BUSHING

2шт.

4

NSS

NOT SOLD SEPARAT

Rod, Piston, Incl in 1, 26

1шт.

5

PW01V00068S004

CYLINDER END CAP

Head

1шт.

6

PV01V00047S019

BUSHING

1шт.

7

2438U635S3

RING

1шт.

8

PH01V00006S006

RING

1шт.

9

ZD12G07500

O-RING,74.40mm ID x 80.60mm OD x 3.10mm

2шт.

10

PH01V00015S008

BACK-UP RING

1шт.

11

ZD12G08000

O-RING,79.40mm ID x 85.60mm OD x 3.10mm

1шт.

12

PX01V00045S011

HOLDER

1шт.

13

PH01V00015S024

CAP

Spacer

1шт.

14

PH01V00015S011

SEAL

1шт.

15

PW01V00074S014

COLLAR

1шт.

16

PW01V00014S008

BACK-UP RING

1шт.

17

PX01V00045S017

PISTON

1шт.

18

2438U852S15

RING

Seal, Piston

1шт.

19

PW01V00068S018

RING

2шт.

20

2438U1057S16

SET SCREW

1шт.

21

2436U946S11

BALL

1шт.

22

PW01V00074S021

RING

1шт.

23

PR01V00002S027

SEAL

Dust

4шт.

24

PR01V00027S023

LUBE NIPPLE

Nipple, Grease

2шт.

25

PW01V00074R100

REPAIR KIT

Incl 2 (Qty 1), 3 (Qty 1), 23 (Qty 2)

1шт.

26

PW01V00074R200

REPAIR KIT

Incl 3 (Qty 1), 4 (Qty 1), 23 (Qty 2)

1шт.

27

PX01V00045R300

REPAIR KIT

Incl 7 (Qty 1), 8 (Qty 1), 10 (Qty 1), 11 (Qty 1), 16(Qty 1), 18 (Qty 1), 9 (Qty 2), 19 (Qty 2)

1шт.

Выбрано товаров: 27