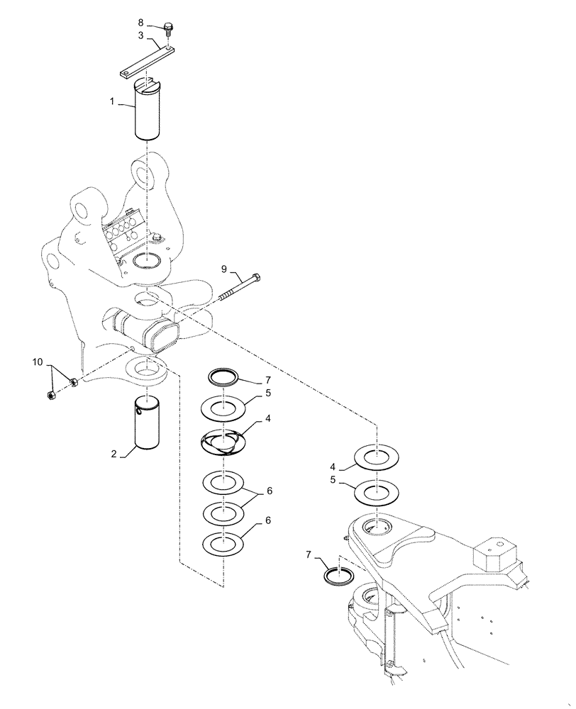
Запчасти Case CX31B (39.100.BD[02]) - BRACKET INSTALL, SWING - BTW PW16-80001 - PW16-80063 (39) - FRAMES AND BALLASTING

Схема запчастей Case CX31B - (39.100.BD[02]) - BRACKET INSTALL, SWING - BTW PW16-80001 - PW16-80063 (39) - FRAMES AND BALLASTING
4
8
7
6
7
4
5
1
9
6
2
5
3
10
FIT
1:1
100%

Артикул

Название

Примечание

Количество

1

PX02B01405P1

PIN

1шт.

2

PX02B01384P1

PIN

1шт.

3

PX02B01274P1

PLATE

1шт.

4

PW02B01225P1

WASHER

2шт.

5

PW02B01226P1

WASHER

2шт.

6

PX02B01410P1

SHIM,0.5mm Thk

3шт.

7

2445R138D4

SEAL,65mm ID x 80mm OD x 4mm Thk

Dust

2шт.

8

ZM73C10025

BOLT,M10x25mm - Course Thread

Sems

2шт.

9

HS18C12135G1

BOLT

Capscrew

1шт.

10

ZN18C12010

NUT

2шт.

Выбрано товаров: 10