Запчасти Case CX31B (10.220.AA) - CONTROL, ASSY, ENGINE, DIESEL (10) - ENGINE

Схема запчастей Case CX31B - (10.220.AA) - CONTROL, ASSY, ENGINE, DIESEL (10) - ENGINE
6
3
9
16
20
7
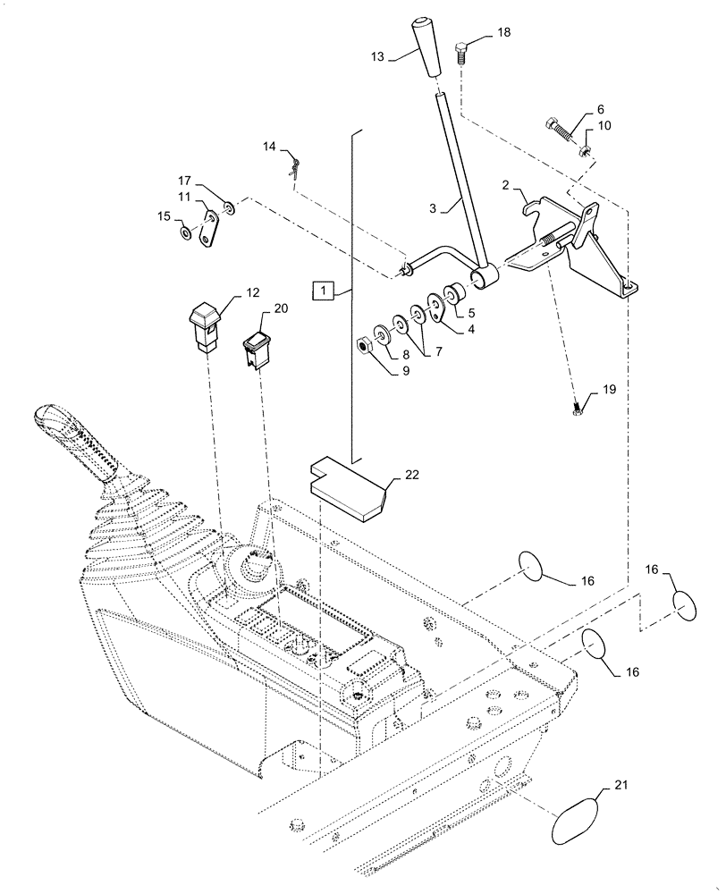
1
15
18
14
16
11
13
21
12
5
17
16
2
10
19
22
4
8
FIT
1:1
100%

Артикул

Название

Примечание

Количество

1

PS51M00006F1

LEVER

Assy, Throttle, Incl 2 - 10

1шт.

2

PS51M01042P1

BRACKET

1шт.

3

PS51M01041P1

LEVER

1шт.

4

PM51M01025P1

PLATE

1шт.

5

PM51M01026P1

BUSHING,12mm ID x 14mm OD x 7mm L

2шт.

6

2420T8007D3

CAPSCREW

1шт.

7

R16T0137D2

WASHER

6шт.

8

ZW16H12000

WASHER

1шт.

9

ZN17C12007

NUT

2шт.

10

ZN18C08007

NUT

1шт.

11

PS51M01024P1

PLATE

1шт.

12

PM50S00005P1

SWITCH

(Used for Deceleration)

1шт.

13

PU11M01024P1

GRIP

1шт.

14

PW11M01071P1

PIN,8mm OD x 19mm L

1шт.

15

2419R9D2

COTTER PIN

1шт.

16

PS11M01001P1

DECAL

Label

3шт.

17

ZW16P08000

WASHER

5шт.

18

ZM73C08020

BOLT,M8x20mm - Course Thread

Sems

2шт.

19

ZM73C06016

BOLT,M6x16mm - Course Thread

Sems

2шт.

20

PS50S00006F1

ROCKER SWITCH

(Used for ECO Mode)

1шт.

21

PX11M01009P1

DECAL

Label

1шт.

22

PX10M01239P1

INSULATION

1шт.

Выбрано товаров: 22