Запчасти Case CX31B (10.400.BE[06]) - RADIATOR, ASSY (10) - ENGINE

Схема запчастей Case CX31B - (10.400.BE[06]) - RADIATOR, ASSY (10) - ENGINE
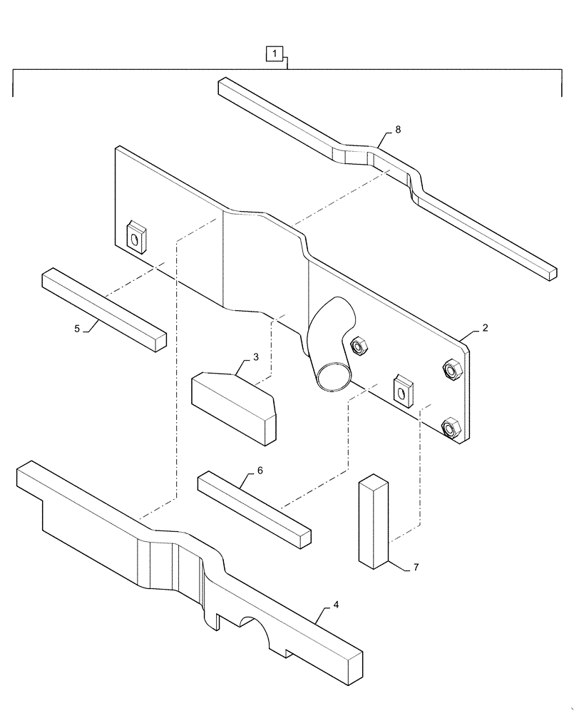
8
5
4
1
2
6
7
3
FIT
1:1
100%

Артикул

Название

Примечание

Количество

1

PX05P01058F1

BRACKET

Assy, Incl 2 - 8

1шт.

2

PX05P01179P1

BRACKET

1шт.

3

PX05P01209P1

INSULATION

1шт.

4

PX05P01206P1

INSULATION

1шт.

5

PX05P01210P1

INSULATION

1шт.

6

PX05P01211P1

INSULATION

1шт.

7

PX05P01203P1

INSULATION

1шт.

8

PX05P01207P1

INSULATION

1шт.

Выбрано товаров: 8