Запчасти Case CX36B (35.310.AJ[04]) - VALVE, SELECTOR, NIBBLER & BREAKER (35) - HYDRAULIC SYSTEMS

Схема запчастей Case CX36B - (35.310.AJ[04]) - VALVE, SELECTOR, NIBBLER & BREAKER (35) - HYDRAULIC SYSTEMS
7
1
2
8
5
9
7
2
3
5
8
4
7
3
7
1
6
4
9
6
FIT
1:1
100%

Артикул

Название

Примечание

Количество

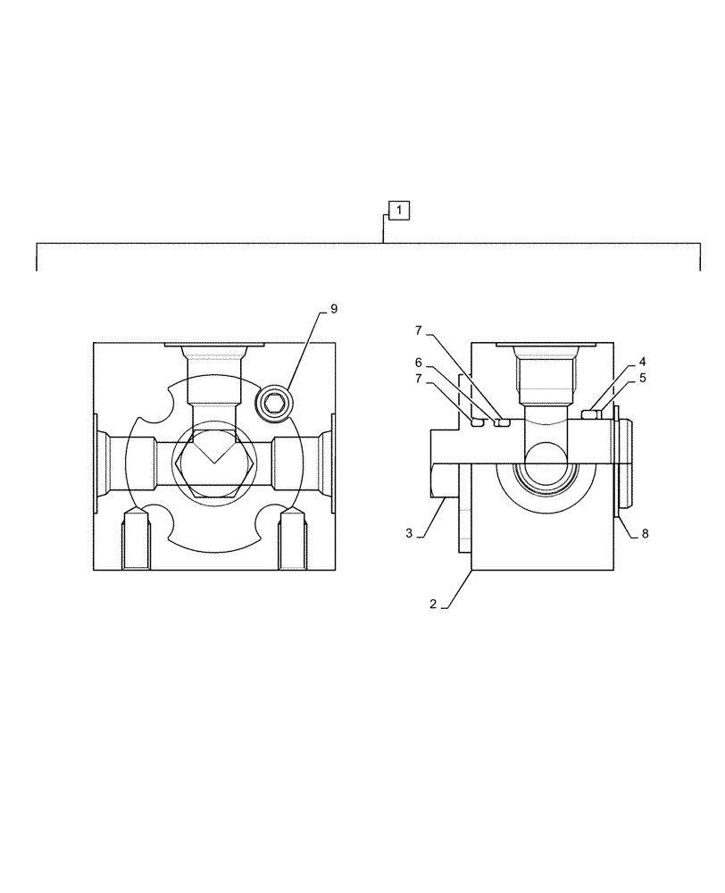
1

PA30V00005F1

VALVE

Selector, Incl 2 - 9

1шт.

2

PA30V01011P1

BODY

1шт.

3

PA30V01012P1

SHAFT

1шт.

4

ZD12G02500

O-RING,24.40mm ID x 30.60mm OD x 3.10mm

1шт.

5

ZD75G02500

BACK-UP RING

1шт.

6

ZD85P02100

RING

Back-up

1шт.

7

ZD12P02100

O-RING,2.4mm Thk x 20.8mm ID, 90 Duro

2шт.

8

ZR16X02500

RING

Snap

1шт.

9

ZS28C06010

CAPSCREW,Hex Socket Head, M6 x 10mm

1шт.

Выбрано товаров: 9