Запчасти Case CX36B (35.359.AB[16]) - VALVE SECTION (35) - HYDRAULIC SYSTEMS

Схема запчастей Case CX36B - (35.359.AB[16]) - VALVE SECTION (35) - HYDRAULIC SYSTEMS
5
9
13
11
8
10
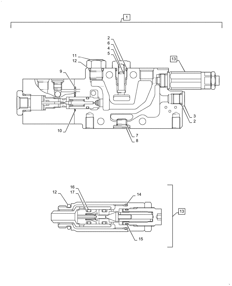
1
13
7
12
14
17
3
2
16
15
4
12
2
6
FIT
1:1
100%

Артикул

Название

Примечание

Количество

1

PM30V00048F1

VALVE SECTION

Assy, Boom Lock, Incl 2 - 17

1шт.

2

ZD12P01100

O-RING

2шт.

3

2436U1317S13

PLUG

1шт.

4

PW30V01009S002

POPPET

1шт.

5

PH30V00014S013

SPRING

1шт.

6

PW30V01009S005

PLUG

1шт.

7

2436R612S5

O-RING

1шт.

8

PW30V01011S015

PLUG

1шт.

9

ZD11P00600

O-RING

1шт.

10

PB30V00006S010

O-RING

1шт.

11

PR30V00007S014

PLUG

1шт.

12

ZD12P01400

O-RING

1шт.

13

PM22V00005F4

VALVE PRESSURE RELIE

Incl 12, 14 - 17

1шт.

14

ZD12P01500

O-RING

1шт.

15

2436R612S13

O-RING

1шт.

16

PH22V00003S013

O-RING

2шт.

17

PH22V00003S014

BACK-UP RING

2шт.

Выбрано товаров: 17