Запчасти Case CX36B (35.359.AB[19]) - VALVE SECTION, ANGLE, DOZER (35) - HYDRAULIC SYSTEMS

Схема запчастей Case CX36B - (35.359.AB[19]) - VALVE SECTION, ANGLE, DOZER (35) - HYDRAULIC SYSTEMS
19
22
11
22
20
7
9
22
12
22
5
13
15
21
8
4
10
17
14
16
16
22
22
1
18
3
22
2
6
FIT
1:1
100%

Артикул

Название

Примечание

Количество

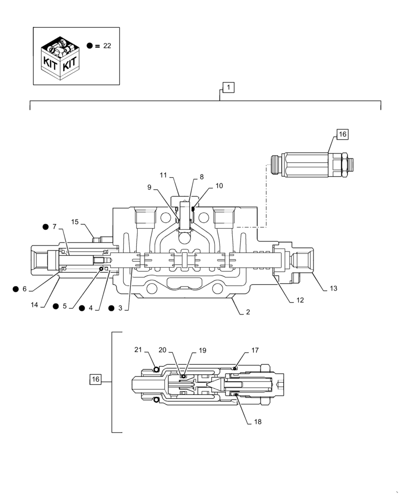
1

PX30V00084F1

VALVE SECTION

Assy, Dozer, Incl 2 - 21

1шт.

2

NSS

NOT SOLD SEPARAT

Body, Incl in 1

1шт.

3

NSS

NOT SOLD SEPARAT

Spool, Incl in 1, 22

1шт.

4

NSS

NOT SOLD SEPARAT

Seat, Incl in 1, 22

1шт.

5

NSS

NOT SOLD SEPARAT

Spring, Incl in 1, 22

1шт.

6

NSS

NOT SOLD SEPARAT

Seat, Incl in 1, 22

1шт.

7

NSS

NOT SOLD SEPARAT

Spool, Incl in 1, 22

1шт.

8

PH30V00003S006

POPPET

1шт.

9

PH30V00003S007

SPRING

1шт.

10

ZD12P01100

O-RING

1шт.

11

PH30V00003S009

PLUG

1шт.

12

PW30V01008S011

O-RING

2шт.

13

PM30V00021S012

COVER

1шт.

14

PM30V00021S013

COVER

1шт.

15

PM30V00021S014

SCREW

4шт.

16

PM22V00005F3

VALVE PRESSURE RELIE

Incl 17 - 21

1шт.

17

ZD12P01500

O-RING

1шт.

18

2436R612S13

O-RING

1шт.

19

PH22V00003S013

O-RING

2шт.

20

PH22V00003S014

BACK-UP RING

2шт.

21

ZD12P01400

O-RING

1шт.

22

PX30V00084R100

REPAIR KIT

Incl 3 - 7

1шт.

Выбрано товаров: 22