Запчасти Case CX36B (35.359.AB[23]) - VALVE SECTION, ANGLE, DOZER (35) - HYDRAULIC SYSTEMS

Схема запчастей Case CX36B - (35.359.AB[23]) - VALVE SECTION, ANGLE, DOZER (35) - HYDRAULIC SYSTEMS
19
11
12
10
2
25
8
25
4
6
3
25
9
16
14
23
25
20
7
17
5
25
13
20
18
22
25
15
24
25
25
1
25
21
FIT
1:1
100%

Артикул

Название

Примечание

Количество

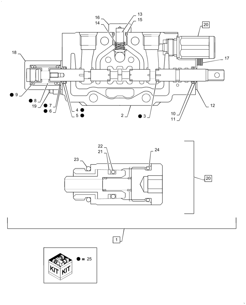
1

PX30V00089F1

VALVE SECTION

Assy, Boom Swing, Incl 2 - 24

1шт.

2

NSS

NOT SOLD SEPARAT

Body, Incl in 1

1шт.

3

NSS

NOT SOLD SEPARAT

Spool, Incl in 1, 25

1шт.

4

NSS

NOT SOLD SEPARAT

O-Ring, Incl in 1, 25

1шт.

5

NSS

NOT SOLD SEPARAT

Wiper, Dust, Incl in 1, 25

1шт.

6

NSS

NOT SOLD SEPARAT

Seat, Incl in 1, 25

1шт.

7

NSS

NOT SOLD SEPARAT

Seat, Incl in 1, 25

2шт.

8

NSS

NOT SOLD SEPARAT

Spring, Incl in 1, 25

1шт.

9

NSS

NOT SOLD SEPARAT

Spool, Incl in 1, 25

1шт.

10

ZD11P01200

O-RING

1шт.

11

PH30V00003S004

WIPER

1шт.

12

PH30V00003S005

SPRING SEAT

1шт.

13

PH30V00003S006

POPPET

1шт.

14

PH30V00003S007

SPRING

1шт.

15

ZD12P01100

O-RING

1шт.

16

PH30V00003S009

PLUG

1шт.

17

PH30V00003S010

CAPSCREW

2шт.

18

PH30V00003S011

COVER

1шт.

19

PW30V00027S015

CAP

2шт.

20

PH21V00001F1

BLEEDER VALVE

Assy, Incl 21 - 24

1шт.

21

YR30V00009S009

BACK-UP RING

1шт.

22

ZD11P01090

O-RING

1шт.

23

ZD12P01400

O-RING

1шт.

24

ZD12P01500

O-RING

1шт.

25

PX30V00089R100

REPAIR KIT

Incl 3 - 6 (Qty 1),7 (Qty 2), 8 (Qty 1), 9 (Qty 1)

1шт.

Выбрано товаров: 25