Запчасти Case CX36B (35.359.AE[08]) - SOLENOID VALVE, ASSY (35) - HYDRAULIC SYSTEMS

Схема запчастей Case CX36B - (35.359.AE[08]) - SOLENOID VALVE, ASSY (35) - HYDRAULIC SYSTEMS
18
12
16
4
9
17
19
20
6
8
11
2
15
3
6
11
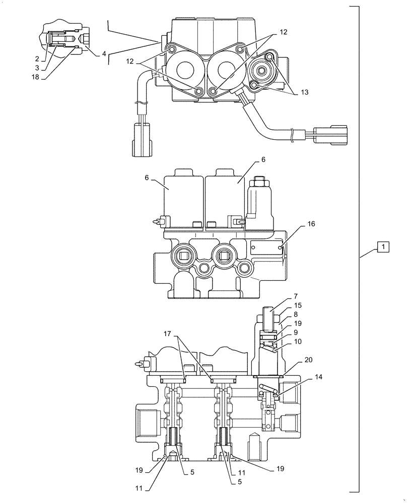
1
7
13
12
14
19
5
19
5
10
FIT
1:1
100%

Артикул

Название

Примечание

Количество

1

LE35V00003F1

SOLENOID VALVE

Assy, Incl 2 - 20 (Use for Lever Lock, 2-speed Select)

1шт.

2

PY35V00008S001

POPPET

1шт.

3

PY35V00008S002

SPRING

1шт.

4

PY35V00008S003

PLUG

1шт.

5

2436U2802S3

SPRING

2шт.

6

PY35V00009S007

SOLENOID

2шт.

7

PY35V00009S008

SCREW

1шт.

8

PY35V00009S009

COVER

1шт.

9

PY35V00009S010

PLUG

1шт.

10

LE35V00003S013

SPRING

1шт.

11

LC35V00004S007

PLUG

3шт.

12

LC35V00004S008

SCREW

Cap

4шт.

13

PY35V00009S014

SCREW

Cap

2шт.

14

LE35V00003S018

WASHER

1шт.

15

PY35V00009S015

NUT

1шт.

16

YN30V00080S023

SCREW

2шт.

17

ZD11P01600

O-RING

2шт.

18

ZD12P01000

O-RING

1шт.

19

ZD12P01100

O-RING

4шт.

20

PY35V00009S019

O-RING

1шт.

Выбрано товаров: 20