Запчасти Case CX36B (180-17[5]) - CAB ASSEMBLY (05) - SUPERSTRUCTURE

Схема запчастей Case CX36B - (180-17[5]) - CAB ASSEMBLY (05) - SUPERSTRUCTURE
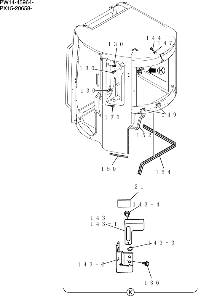
130
143-2
21
136
144
150
130
143-1
143
152
143-4
147
149
143-3
130
154
130
FIT
1:1
100%

Артикул

Название

Примечание

Количество

PW02C00068F1

CAB

Cab Assy

1шт.

1

PW02C00062P1

Cab

1шт.

2

PW50C00002F1

WINDOW

Assembly - Inc. Frame (See Fig no.190-01-1)

1шт.

3

PW02C01071P1

BRACKET

1шт.

4

PW02C01145P2

LINK

1шт.

5

PW02C01144P2

LINK

1шт.

6

PW02C01205P1

GLASS

1шт.

7

PW02C01204P1

GLASS

Window, LH AFT Cab

1шт.

8

YT51C01021P1

HOOK

2шт.

9

PW02C01110P1

BRACKET

2шт.

10

PW02C01116P1

STOP

Stopper

1шт.

11

PW02C01115P1

STOP

Stopper

1шт.

12

PM02C01475P1

RUBBER

1шт.

13

PW02C01220P1

SPACER

2шт.

14

PW02C01301P1

PIN

2шт.

15

PM02C01172D1

SEAL,7mm W x 4.8mm H x 3000mm L

1шт.

16

PM02C01172D2

SEAL,7mm W x 4.8mm H x 2500mm L

2шт.

17

PW02C01185D1

SEAL,3900mm L

1шт.

18

PE54C00002F1

TANK

Assy, Washer

1шт.

18-1

PE54C00002S001

TANK

Assy, Washer

1шт.

18-2

PE54C00002S002

ELECTRIC MOTOR

Assy

1шт.

18-3

PE54C00002S003

BRACKET

1шт.

18-4

PE54C00002S004

BRACKET

1шт.

19

PM02C01357P1

HARNESS

1шт.

20

PW02C01117P1

GLASS

1шт.

21

PA33H01057P1

RUBBER

1шт.

22

PW02C01359P1

SEAL

Packing

2шт.

23

YT51C01077D1

SPACER

2шт.

26

ZR16X01200

RING

Retaining

1шт.

27

PM02C01172D3

SEAL,7mm W x 4.8mm H x 4000mm L

1шт.

29

PM02C01459P1

LINK

1шт.

30

PM02C01419P1

LINK

1шт.

31

PM51C01061P1

LINK

1шт.

32

PW51C01002P1

LINK

1шт.

33

PM02C01477P1

LINK

1шт.

35

PM02C01434P1

BEARING,12mm ID x 32mm OD x 10mm W

1шт.

36

PM51C01012P1

BEARING,15mm ID x 42mm OD x 13mm W

5шт.

37

PM51C01014P1

BEARING,8mm ID x 19mm OD x 6mm W

4шт.

38

PM02C01423P1

PIN

2шт.

39

PM02C01430D1

SEAL

4шт.

40

ZR26X04200

RETAINER

Ring, Retaining

3шт.

41

PM02C01425P1

WASHER

3шт.

42

YT50C01024P1

ROLLER

1шт.

43

PM02C01424P1

SHIM,1.0mm Thk

4шт.

46

PM02C01133P2

SPRING

2шт.

47

PM02C01257P1

SPECIAL PIN

2шт.

49

PM02C01440P1

STRIKER PLATE

1шт.

51

YT02C01324P1

CLIP

9шт.

53

PM51C00006F1%LD

LH CAB DOOR

Assy (amirac 1000 Black) (See Fig no.194-01-1)

1шт.

54a

PW02C01114F1

GLASS

Sash Assy

1шт.

54-1

PW02C01114S001

FRAME ASSY

1шт.

54-2

PW02C01224P1

GLASS

(See fig no.190-01-1)

1шт.

54-3

PW02C01225P1

GLASS

1шт.

54-4

PW02C01114S004

LOCK ASSY

2шт.

54-5

PW02C01114S005

SEAL

1шт.

54-6

PW02C01114S006

SEAL

1шт.

54-7

PW02C01114S007

SEAL

1шт.

54-8

PW02C01114S008

STOP

Stopper

2шт.

54-9

PW02C01114S009

STOP

Stopper

2шт.

54-10

PW02C01114S010

SEAL

1шт.

54-11

PW02C01114S011

SEAL

1шт.

54-12

PW02C01114S012

SEAL

1шт.

55

PW02C01293P1

GLASS

1шт.

57

PM80S00006P1

LIGHT

Room

1шт.

58

YR02C01578P1

HOOK

1шт.

59

PM54S00001P1

ANTENNA

1шт.

60

PM02C01480P1

NOZZLE

1шт.

61

2405U104D012020

BUSHING

2шт.

62

PM02C01356P2

STOP

Stopper

2шт.

63

YT02C01066P1

STOP

Stopper

4шт.

64

2405U104D012008

BUSHING

2шт.

66

YT02C01126DE

TUBE

Tube

1шт.

67

YR02C01524P1

SEAL

1шт.

70

YT02C01104P2

HARNESS

Harness

1шт.

71

2420R372D16

GROMMET

2шт.

74

PM02C01385P1

BLOCK

Tapped

1шт.

75

YN03E01001D5

CLIP

1шт.

76

PM02C01426P1

COLLAR

2шт.

77

ZM46C05025

BOLT

Sems

4шт.

78

ZS18C12030

SCREW,Hex, M12 x 30mm

Cap

3шт.

80

ZS68C10025

CAPSCREW

Cap

6шт.

81

ZS18C08035

SCREW,Hex, M8 x 35mm

Cap

3шт.

82

ZS18C08025

SCREW,Hex, M8 x 25mm

Cap

2шт.

83

ZS18C08020

SCREW,Hex, M8 x 20mm

2шт.

84

ZS18C08016

SCREW,Hex, M8 x 16mm

Cap

3шт.

85

ZS28C08025

SCREW,Hex Socket Head, M8 x 25mm

Cap

2шт.

87

ZS31C05025

SCREW,Phillips Drive, Pan HD, M5 x 25mm

Machine

2шт.

89

ZS31C04016

SCREW,Phillips Drive, Pan HD, M4 x 16mm

Machine

2шт.

90

ZS31C04012

BOLT,Phillips Drive, Pan HD, M4 x 12mm

Machine Screw

2шт.

91

ZN46C10018

NUT

2шт.

92

ZN18F10008

NUT

4шт.

93

ZN18C06005

NUT

4шт.

94

ZW26X12000

LOCK WASHER

3шт.

95

ZW26X10000

LOCK WASHER

2шт.

96

ZW26X08000

LOCK WASHER

14шт.

97

ZW26X06000

LOCK WASHER

4шт.

98

ZW26X04000

LOCK WASHER

2шт.

99

ZW16P12000

WASHER

12шт.

100

ZW16K10000

WASHER

4шт.

101

ZW16X10000

WASHER

2шт.

102

ZW16X08000

WASHER,8mm ID x 17mm OD x 1.6mm Thk

15шт.

103

ZW16X06000

WASHER

8шт.

104

ZW16P04000

WASHER

2шт.

105

PM02C01353P1

WASHER

2шт.

106

ZR36X01000

RING

Retaining

2шт.

107

ZR36X00700

RING

Retaining

1шт.

108

ZR36X00500

SNAP RING

Retaining

4шт.

109

PM02C01461P1

BOLT

1шт.

110

PM02C01396P1

STOP

Stopper

2шт.

113

PM02C01474P1

BASE PLATE

1шт.

114

PM21C01146P1

GROMMET

2шт.

115

2420R372D15

GROMMET

1шт.

117

PM02C01482D6

NUT

2шт.

119

PM02C01212P1

BLOCK

Tapped

1шт.

120

PM02C01499P1

HARNESS

1шт.

121

PM02C01504D1

SHIM,0.5mm Thk

2шт.

123

YT51C01081D2

SEAL

1шт.

124

YT02C01567D2

PLATE

1шт.

125

PM02C01505P1

SHIM,1.0mm Thk

4шт.

126

PM41C00015P1

HANDRAIL

1шт.

127

YR02C01571D2

SCREW

Cap

2шт.

128

ZW16H10000

WASHER

2шт.

129

ZM46C05020

BOLT (STEP)

Sems-bolt

1шт.

130

2420Z1227D2

SCREW

Machine

8шт.

133

PW11E01034D1

HARNESS

1шт.

134

PW02C01162P1

GROMMET

1шт.

135

ZS28C08035

SCREW,Hex Socket Head, M8 x 35mm

Cap

2шт.

136

ZM46C06016

SCREW

Sems-bolt

4шт.

139

PW02C01267P1

BOLT

2шт.

140

PW02C01268P1

NUT

2шт.

141

PW02C01295P2

FOAM INSULATION

1шт.

142

2418T5373C2

WASHER

2шт.

143

PW02C01265F1

BRACKET

Assy

1шт.

143-1

PW02C01260P1

PLATE

1шт.

143-2

PW02C01261P1

PLATE

1шт.

143-3

PW02C01262P1

SPRING

1шт.

143-4

PM02C01346P1

PIN

2шт.

144

YR02C01503P1

STOP

Stopper

1шт.

147

ZN17C10006

NUT

1шт.

149

PY02C01087P1

STOP

Stopper

2шт.

150

PW02C01342D1

WEATHERSTRIP

1шт.

151

ZS18C08012

SCREW,Hex, M8 x 12mm

Cap

6шт.

152

PF21C01175D2

RUBBER

1шт.

154

PW02C01353P1

WEATHERSTRIP

Weather

1шт.

155

PM02C01556P1

SHIM

Washer

1шт.

Выбрано товаров: 0