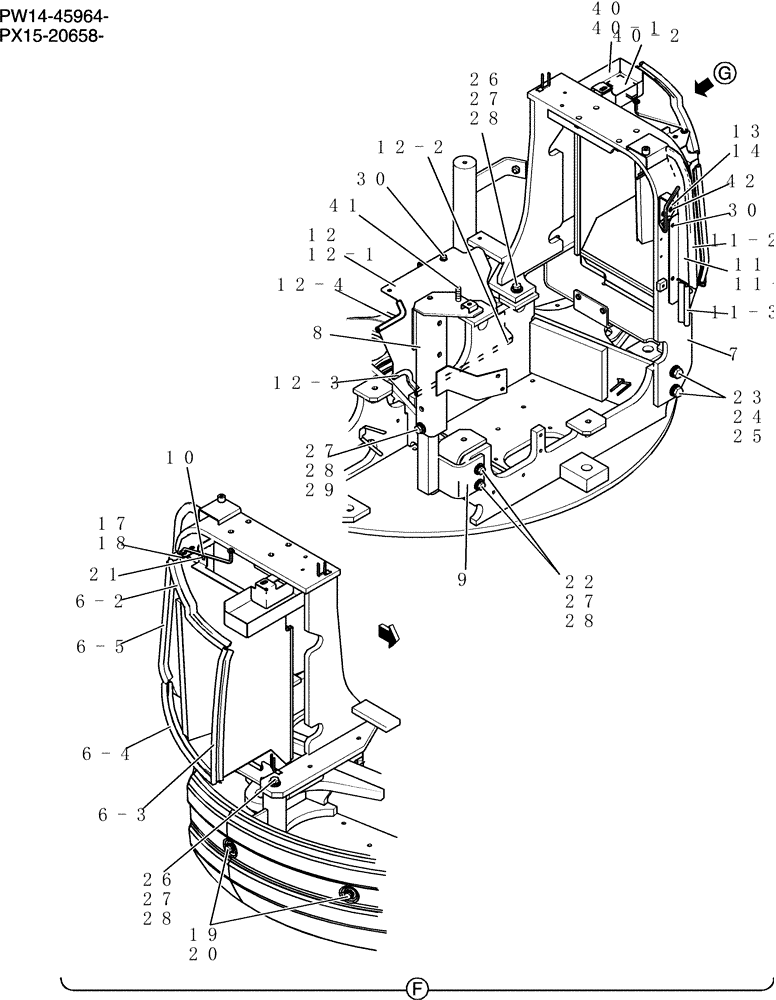
Запчасти Case CX36B (242-01[4]) - GUARD INSTAL (CAB) (05) - SUPERSTRUCTURE

Схема запчастей Case CX36B - (242-01[4]) - GUARD INSTAL (CAB) (05) - SUPERSTRUCTURE
40
30
27
27
12-1
12-2
27
26
9
14
27
42
7
11
18
12
28
11-1
19
6-2
24
29
12-4
6-4
23
28
26
12-3
41
28
30
40-2
6-3
28
21
17
10
13
40-1
25
8
20
11-2
6-5
11-3
22
FIT
1:1
100%

Артикул

Название

Примечание

Количество

6-2

YJ21C01079D2

WEATHERSTRIP

1шт.

6-3

YT21C01163D3

WEATHERSTRIP

1шт.

6-4

YT21C01163D7

WEATHERSTRIP

1шт.

6-5

YJ21C01079D7

WEATHERSTRIP

1шт.

7

PW21C01788P1

SUPPORT

1шт.

8

PW21C01715P2

STAY

Stay

1шт.

9

PW21C01652P1

BRACKET

1шт.

10

PW21C01669P1

STAY

Stay

1шт.

11

PW21C01797F1

PLATE

Plate Assy

1шт.

11-1

PW21C01785P1

PLATE

Plate

1шт.

11-2

2427P1836D28

WEATHERSTRIP

1шт.

11-3

PH21C01136DK

RUBBER WEATHERSTRIP

Strip, Weather

1шт.

12

PW21C01660F1

GUARD ASSY.

1шт.

12-1

PW21C01661P1

GUARD

1шт.

12-2

YT21C01037D1

TRIM PANEL

1шт.

12-3

YJ21C01146D1

TRIM PANEL

1шт.

12-4

YJ21C01146D5

SOFT TRIM

1шт.

13

PW21C01689P1

STRIKER PLATE

1шт.

14

PW21C01699D1

SHIM

2шт.

17

ZW16X08000

WASHER,8mm ID x 17mm OD x 1.6mm Thk

1шт.

18

2419R9D2

COTTER PIN

Snap

1шт.

19

PA41C01005D3

BOLT

Sems

2шт.

20

YT21C01187P2

WASHER

2шт.

21

PA21C01133P1

BOLT

Sems

2шт.

22

ZS18C12045

SCREW,Hex, M12 x 45mm

Cap

2шт.

23

ZS18C16055

SCREW,Hex, M16 x 55mm

Cap

2шт.

24

ZW26X16000

LOCK WASHER

2шт.

25

ZW16H16000

WASHER

2шт.

26

ZS18C12050

SCREW,Hex, M12 x 50mm

Cap

2шт.

27

ZW26X12000

LOCK WASHER

6шт.

28

2418T10357

WASHER

6шт.

29

ZS18C12035

SCREW,Hex, M12 x 35mm

Cap

2шт.

30

ZM22C08020

BOLT

Sems

4шт.

40

PW21C01741F1

BOX

Assy

1шт.

40-1

PW21C01748P1

BOX

1шт.

40-2

PW21C01729P2

RUBBER

1шт.

41

PM21C01202P1

BOLT

Sems

1шт.

42

YR21C01159P1

BOLT

Sems

2шт.

Выбрано товаров: 38