Запчасти Case CX36B (769-01[4]) - GUARD INSTAL (COOLER) (05) - SUPERSTRUCTURE

Схема запчастей Case CX36B - (769-01[4]) - GUARD INSTAL (COOLER) (05) - SUPERSTRUCTURE
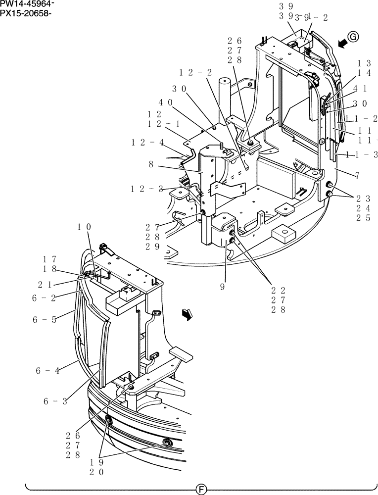
27
27
26
21
12-3
14
30
39-2
28
26
18
11-2
28
9
23
39
11-1
29
28
19
40
17
22
8
6-2
12-1
30
27
27
6-4
39-1
6-5
12
11
7
25
20
28
12-4
10
41
13
11-3
24
12-2
6-3
FIT
1:1
100%

Артикул

Название

Примечание

Количество

PW21C00034F1

Guard Instal (cooler)

1шт.

2

PW22C00022F1

ENGINE HOOD

Bonnet Assy

1шт.

2-1

PW22C01148P1

ACCESS COVER

Bonnet

1шт.

2-8

PW22C01161P2

CHECK VALVE

Hinge

1шт.

2-10

PW21C01413P1

CAPSCREW

Cap

2шт.

2-11

ZW16X08000

WASHER,8mm ID x 17mm OD x 1.6mm Thk

2шт.

2-12

ZW26X08000

LOCK WASHER

Lock

2шт.

2-13

ZN18C08007

NUT

2шт.

2-14

PW22C01169P1

INSULATOR

Insulation

1шт.

2-15

PW22C01130P1

FOAM INSULATION

1шт.

2-19

YR21C01165D8

WEATHERSTRIP

1шт.

2-20

YN21C01712DD

WEATHERSTRIP

1шт.

3

PW21C01823F1

COVER ASSY

1шт.

5

PW21C01804F1

COVER ASSY

Incls. Refs. 5-1 - 5-5

1шт.

5-1

PW21C01790P1

COVER ASSY

1шт.

5-2

PM21C01233P1

RUBBER

1шт.

5-3

PM21C01152DV

WEATHERSTRIP

1шт.

5-4

PW21C01683P1

FOAM INSULATION

1шт.

5-5

PW21C01684P1

FOAM INSULATION

1шт.

19

PA41C01005D3

BOLT

Sems

2шт.

20

YT21C01187P2

WASHER

2шт.

27

ZW26X12000

LOCK WASHER

2шт.

28

2418T10357

WASHER

2шт.

37

ZS18C12030

SCREW,Hex, M12 x 30mm

Cap

2шт.

2-2

PW22C01067P1

LOCK

1шт.

2-3

PH22C01023P1

BOLT

4шт.

2-3

ZN18C05004

NUT

4шт.

2-5

ZW26X05000

LOCK WASHER

Lock

4шт.

2-6

PM21C01268F1

LOCK

1шт.

2-6a

YR22C01025P2

LOCK

1шт.

2-6b

PM21C01269P1

PLATE

1шт.

2-7

ZW16H05000

WASHER

4шт.

2-9

PW22C01160P3

BRACKET

1шт.

3-1

PW21C01648P1

COVER

Cover

1шт.

3-2

YZ21C01094D8

WEATHERSTRIP

1шт.

3-3

PM21C01091DU

WEATHERSTRIP

1шт.

3-4

PM21C01152D9

WEATHERSTRIP

1шт.

3-5

PW21C01718D1

RUBBER

1шт.

3-6

PW21C01824P1

FOAM INSULATION

1шт.

3-7

PW21C01825P1

FOAM INSULATION

1шт.

17

ZW16X08000

WASHER,8mm ID x 17mm OD x 1.6mm Thk

1шт.

18

2419R9D2

COTTER PIN

Snap

1шт.

19

PA41C01005D3

BOLT

Sems

2шт.

20

YT21C01187P2

WASHER

2шт.

21

PA21C01133P1

BOLT

Sems

1шт.

38

PW22C01173P2

STAY

Stay

1шт.

1

PW21C00027F1

COVER ASSY

Side

1шт.

1-1

PW21C01667P1

COVER

1шт.

1-1h

PW21C01635P1

HINGE

2шт.

1-2

PW21C01799F1

GUARD

GUARD ASSY; Mesh Screen

1шт.

1-2a

PW21C01784P1

GUARD

1шт.

1-2c

PW21C01583D2

RUBBER

1шт.

1-2d

PW21C01583D3

RUBBER

2шт.

1-3

ZN18C06005

NUT

6шт.

1-4

ZW26X06000

LOCK WASHER

6шт.

1-5

YT21P01001P1

WASHER

6шт.

1-6

YN21C01321P1

STOP

Stopper

1шт.

1-7

ZN17F10008

NUT

1шт.

1-8

PM21C01268F1

LOCK

Assy

1шт.

1-8a

YR22C01025P2

LOCK

1шт.

1-8b

PM21C01269P1

PLATE

1шт.

1-9

PW21C01636P1

FOAM INSULATION

1шт.

1-10

PW21C01682P1

RUBBER

2шт.

1-11

YW21C01057D1

WEATHERSTRIP

1шт.

1-12

PW21C01583D1

RUBBER

1шт.

1-12

PW21C01713P1

GUARD

1шт.

1-14

ZS41C05012

CAPSCREW,M5 x 12mm

Machine

2шт.

1-15

PW21C01742P3

RUBBER

1шт.

1-16

PW21C01740P3

RUBBER

1шт.

1-17

PE21C01135D8

SEAL

1шт.

4

PW21C01801F1

COVER ASSY

1шт.

4-1

PW21C01802P1

COVER ASSY

R/h

1шт.

4-2

PM21C01233P1

RUBBER

1шт.

4-3

2427P1836D32

WEATHERSTRIP

1шт.

4-4

PW21C01629P1

FOAM INSULATION

1шт.

19

PA41C01005D3

BOLT

Sems

1шт.

27

ZW26X12000

LOCK WASHER

2шт.

31

ZN18C12010

NUT

2шт.

32

ZW16H12000

WASHER

2шт.

42

PB02B01012D3

SHIM,1.2mm Thk

1шт.

6-2

YJ21C01079D2

WEATHERSTRIP

1шт.

6-3

YT21C01163D3

WEATHERSTRIP

1шт.

6-4

YT21C01163D7

WEATHERSTRIP

1шт.

6-5

YJ21C01079D7

WEATHERSTRIP

1шт.

7

PW21C01805P1

SUPPORT

1шт.

8

PW21C01715P2

STAY

1шт.

9

PW21C01652P1

BRACKET

1шт.

10

PW21C01669P1

STAY

1шт.

11

PW21C01797F1

PLATE

Plate

1шт.

11-1

PW21C01785P1

PLATE

1шт.

11-2

2427P1836D28

WEATHERSTRIP

1шт.

11-3

PH21C01136DK

RUBBER WEATHERSTRIP

Strip, Weather

1шт.

12

PW21C01660F1

GUARD ASSY.

1шт.

12-1

PW21C01661P1

GUARD

1шт.

12-2

YT21C01037D1

TRIM PANEL

1шт.

12-3

YJ21C01146D1

TRIM PANEL

1шт.

12-4

YJ21C01146D5

SOFT TRIM

1шт.

13

PW21C01689P1

STRIKER PLATE

1шт.

14

PW21C01699D1

SHIM

2шт.

17

ZW16X08000

WASHER,8mm ID x 17mm OD x 1.6mm Thk

1шт.

18

2419R9D2

COTTER PIN

Snap

1шт.

19

PA41C01005D3

BOLT

Sems

2шт.

20

YT21C01187P2

WASHER

2шт.

21

PA21C01133P1

BOLT

Sems

2шт.

22

ZS18C12045

SCREW,Hex, M12 x 45mm

Cap

2шт.

23

ZS18C16055

SCREW,Hex, M16 x 55mm

Cap

2шт.

24

ZW26X16000

LOCK WASHER

2шт.

25

ZW16H16000

WASHER

2шт.

26

ZS18C12050

SCREW,Hex, M12 x 50mm

Cap

2шт.

27

ZW26X12000

LOCK WASHER

6шт.

28

2418T10357

WASHER

6шт.

29

ZS18C12035

SCREW,Hex, M12 x 35mm

Cap

2шт.

30

ZM22C08020

BOLT

Sems

4шт.

39

PW21C01741F1

BOX

Assy

1шт.

39-1

PW21C01748P1

BOX

1шт.

39-2

PW21C01729P2

RUBBER

1шт.

40

PM21C01202P1

BOLT

Sems

1шт.

41

YR21C01159P1

BOLT

Sems

2шт.

6

PW22C01151F1

DUCT

Assy

1шт.

6-1

PW22C01149P1

DUCT

1шт.

6-6

YT21C01037D2

TRIM PANEL

1шт.

6-7

PW22C01105D1

RUBBER

1шт.

6-8

PW22C01105D2

RUBBER

2шт.

6-9

PW22C01105D3

RUBBER

1шт.

6-10

PW22C01154P1

FOAM INSULATION

1шт.

6-11

PW22C01142P1

FOAM INSULATION

1шт.

6-12

PW22C01139P1

FOAM INSULATION

1шт.

6-13

PW22C01140P1

FOAM INSULATION

1шт.

6-14

PW22C01141P1

FOAM INSULATION

1шт.

15

PW21C01688P1

BRACKET

1шт.

16

PM21C01371P1

LOCK

1шт.

30

ZM22C08020

BOLT

Sems

2шт.

33

ZS18C06020

SCREW,Hex, M6 x 20mm

Cap

2шт.

34

ZW16H06000

WASHER

4шт.

35

ZN18C06005

NUT

2шт.

36

ZW26X06000

LOCK WASHER

2шт.

Выбрано товаров: 136