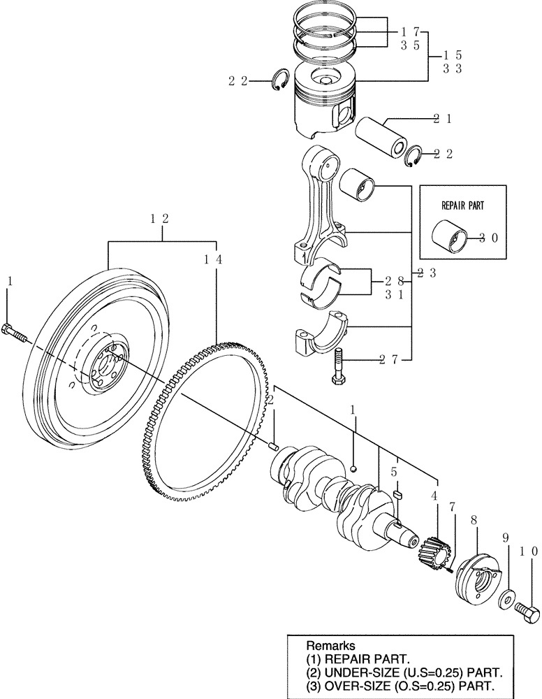
Запчасти Case CX36B (3TNV88-BPYB-16[1]) - CRANKSHAFT & PISTON (10) - ENGINE

Схема запчастей Case CX36B - (3TNV88-BPYB-16[1]) - CRANKSHAFT & PISTON (10) - ENGINE
5
2
7
21
30
8
9
27
14
10
11
28
35
15
4
33
22
23
1
17
31
12
22
FIT
1:1
100%

Артикул

Название

Примечание

Количество

1

VV12900821000

CRANKSHAFT

Crankshaft Assy

1шт.

2

VV12910001580

PIN,M8 x 16mm

Parallel 8x16

1шт.

4

VV11980321200

GEAR

Gear, Crankshaft

1шт.

5

VV22512070140

KEY,M7 x 14mm

7x14

1шт.

7

VV22351030010

PIN

Spring 3x10

1шт.

8

VV12900421650

PULLEY

V, Crankshaft

1шт.

9

VV12979521661

WASHER

1шт.

10

VV12185021680

BOLT

V-pulley

1шт.

11

VV12111121501

BOLT

Flywheel

6шт.

12

VV12912821590

FLYWHEEL

W/ring Gear

1шт.

14

VV11986521600

GEAR

Ring

1шт.

15

VV12900522080

PISTON ASSY

Stud, Cyl. Head

3шт.

17

VV12900522500

PISTON RING SET

3шт.

21

VV12920222300

PISTON PIN

(d26, L70)

3шт.

22

VV22252000260

CIRCLIP

26

6шт.

23

VV72940223100

ROD

Assy, Connecting

3шт.

27

VV12155023200

BOLT

Connecting Rod

6шт.

28

VV12915023601

PIN

Metal, Crank

3шт.

30

VV12910023910

BUSHING

Bush, Piston Pin

3шт.

31

VV12915023611

PLATE

Metal. Pin U. S=0. 25

3шт.

33

VV12900522900

PISTON

W/ring O. S=0. 25

3шт.

35

VV12900522950

RING

Set O. S=0. 25 O. S=0. 25

3шт.

Выбрано товаров: 22