Запчасти Case CX36B (HC004-01[1]) - VALVE ASSEMBLY, CONTROL (SUPPLY & STRAIGHT TRAVEL) (35) - HYDRAULIC SYSTEMS

Схема запчастей Case CX36B - (HC004-01[1]) - VALVE ASSEMBLY, CONTROL (SUPPLY & STRAIGHT TRAVEL) (35) - HYDRAULIC SYSTEMS
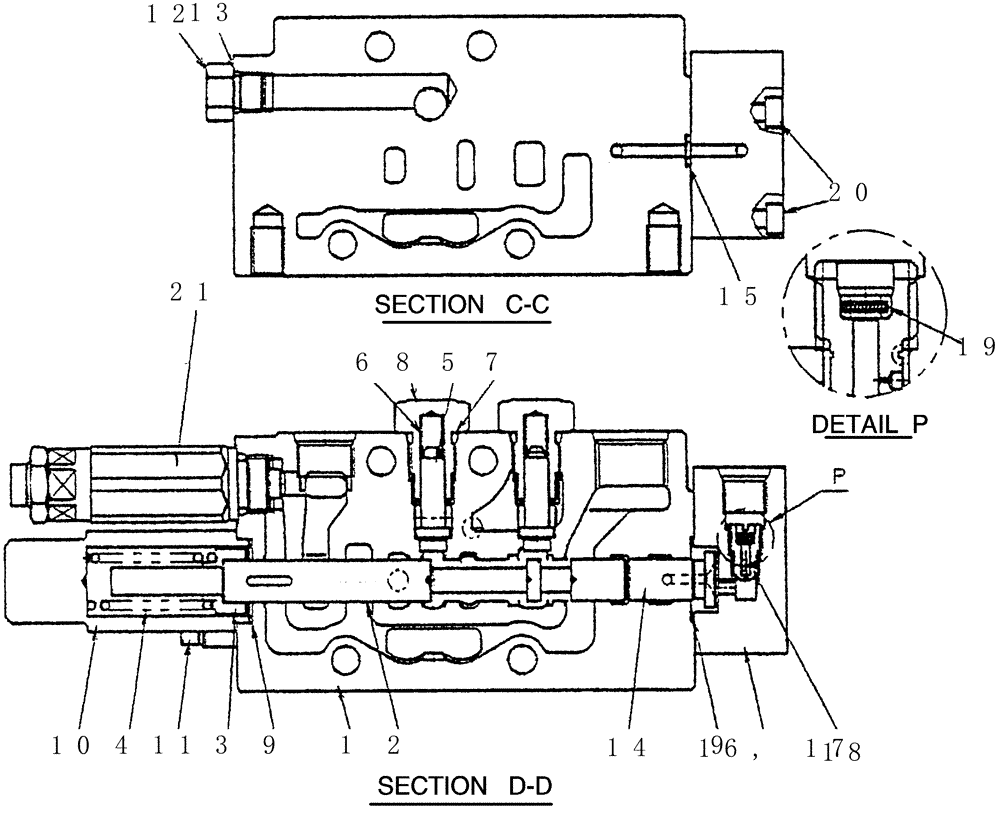
20
21
14
11
13
12
15
4
3
9
10
18
9
7
2
19
1
5
8
6
FIT
1:1
100%

Артикул

Название

Примечание

Количество

PX30V00050F1

VALVE SECTION

Control

1шт.

1

NSS

NOT SOLD SEPARAT

Body

1шт.

2

NSS

NOT SOLD SEPARAT

Spool

1шт.

3

PX30V00050S001

SEAT

Spring

1шт.

4

PW30V01013S013

SPRING

1шт.

5

PW30V01009S002

POPPET

2шт.

6

PH30V00014S013

SPRING

2шт.

7

ZD12P01100

O-RING

2шт.

8

PW30V01009S005

PLUG

2шт.

9

PW30V01008S011

O-RING

2шт.

10

PM30V00027S015

COVER

1шт.

11

PM30V00021S014

SCREW

Cap

2шт.

12

PX30V00050S012

PLUG

1шт.

13

PX30V00050S013

O-RING

1шт.

14

PX30V00050S014

PISTON

1шт.

15

ZD12P00600

O-RING

1шт.

16

PX30V00050S016

CAP

1шт.

17

2436U1317S22

PLUG

1шт.

18

PX30V00050S018

ORIFICE

1шт.

19

PX30V00050S019

FILTER

1шт.

20

ZS23C05030

CAPSCREW,Hex Socket Head, M5 x 30mm

Caps

3шт.

21

PR22V00004F6

VALVE PRESSURE RELIE

Valve Assy, Relief (See HC025-01-1)

1шт.

Выбрано товаров: 22