Запчасти Case CX36B (HC450-01[1]) - PUMP ASSEMBLY (35) - HYDRAULIC SYSTEMS

Схема запчастей Case CX36B - (HC450-01[1]) - PUMP ASSEMBLY (35) - HYDRAULIC SYSTEMS
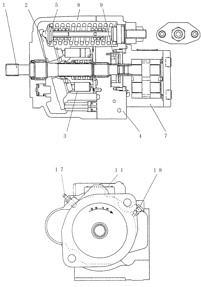
2
17
5
11
1
9
8
4
7
3
18
FIT
1:1
100%

Артикул

Название

Примечание

Количество

PX10V00012F1

HYDRAULIC PUMP

Pump

1шт.

1

PX10V01004F1

SHAFT ASSY.

Shaft Assy (See HC 401-01-1)

1шт.

2

PX10V01005F1

BLOCK ASSY.

Block Assy (See HC 402-01-1)

1шт.

3

PX10V01006F1

ROTATOR

Rotary Assy(See HC 403-01-1)

1шт.

4

PX10V01007F1

COVER ASSY

Cover Assy(See HC 404-01-1)

1шт.

5

PX10V01008F1

SPRING

Spring Assy (See HC 405-01-1)

1шт.

7

PX10V00014F1

PUMP

Pump Assy, Gear(See HC 410-01-1)

1шт.

8

PX10V01009F1

HOUSING

Housing (See HC 455-01-1)

1шт.

9

PX10V00015F1

PUMP

Assy (See HC 407-01-1)

1шт.

11

PM10V00013S011

LABEL

Name Plate

1шт.

17

PY10V00007S017

BREATHER

Breezer, Air

1шт.

18

2441U720S49

PLUG

Plug

1шт.

Выбрано товаров: 12