Запчасти Case CX36B (HC855-01[1]) - VALVE ASSEMBLY, SOLENOID (35) - HYDRAULIC SYSTEMS

Схема запчастей Case CX36B - (HC855-01[1]) - VALVE ASSEMBLY, SOLENOID (35) - HYDRAULIC SYSTEMS
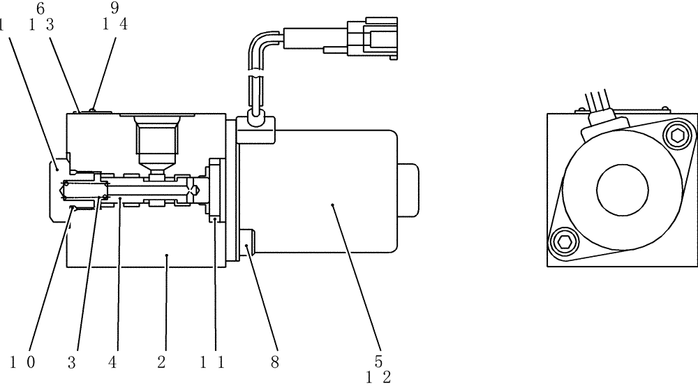
5
8
14
2
1
13
10
3
9
6
4
11
12
FIT
1:1
100%

Артикул

Название

Примечание

Количество

YJ35V00004F1

SOLENOID VALVE

Asy

1шт.

YJ35V00004F2

SOLENOID VALVE

Valve Assy, Solenoid

1шт.

1

2436U2159S3

PLUG

1шт.

2

NSS

NOT SOLD SEPARAT

Body

1шт.

3

2436U2802S3

SPRING

1шт.

4

NSS

NOT SOLD SEPARAT

Spool

1шт.

5

YJ35V00004S005

SOLENOID

Valve [ (F1 ONLY) ]

1шт.

6

NSS

NOT SOLD SEPARAT

Name Plate [ (F1 ONLY) ]

1шт.

8

EN35V00004S010

BOLT

Cap

2шт.

9

2436U1487S35

RIVET

Screw [ (F1 ONLY) ]

2шт.

10

ZD11P01000

O-RING

1шт.

11

ZD11P01600

O-RING

1шт.

12

PY35V00005S005

SOLENOID

Valve [ (F2 ONLY) ]

1шт.

13

NSS

NOT SOLD SEPARAT

Name Plate [ (F2 ONLY) ]

1шт.

14

NSS

NOT SOLD SEPARAT

Screw [ (F2 ONLY) ]

2шт.

Выбрано товаров: 15