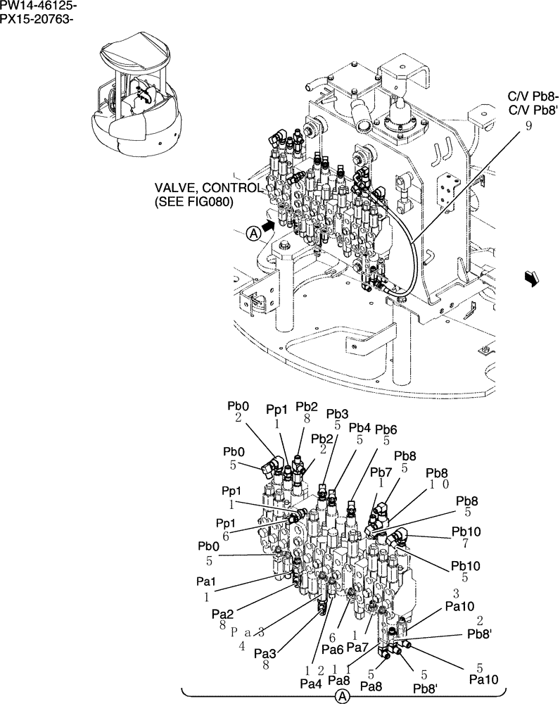
Запчасти Case CX36B (142-72[1]) - CONTROL LINES, MAIN (ANGLE DOZER) (05) - SUPERSTRUCTURE

Схема запчастей Case CX36B - (142-72[1]) - CONTROL LINES, MAIN (ANGLE DOZER) (05) - SUPERSTRUCTURE
1
3
5
10
5
2
5
5
6
5
5
pa3
8
8
9
2
12
8
1
1
6
5
5
5
2
1
5
5
11
7
1
4
FIT
1:1
100%

Артикул

Название

Примечание

Количество

PW06H00021F1

Control Lines, Main

1шт.

1

HH25S04004G1

HYD CONNECTOR

6шт.

2

2444Z2525

HYD CONNECTOR

3шт.

3

2444T2524D2

HYD CONNECTOR

2шт.

4

HH25R04004G3

CONNECTION

1шт.

5

HH35S04004G1

90 ELBOW

11шт.

6

PM12H01001P1

ELBOW

1шт.

7

2444Z2894

90 ELBOW

2шт.

8

HH55L04004G1

TEE

3шт.

9

HX33L03064DX

HOSE,4.8mm ID x 640mm L

1шт.

10

HH55Q04004G1

TEE,1/4" ORB x 1/4" JIC x 1/4" JIC

1шт.

11

2444T2611

HYD CONNECTOR

1шт.

12

PU64H01002P1

HYD CONNECTOR

1шт.

Выбрано товаров: 13