Запчасти Case CX36B (180-01[5-01]) - CAB - COMPONENTS (90) - PLATFORM, CAB, BODYWORK AND DECALS

Схема запчастей Case CX36B - (180-01[5-01]) - CAB - COMPONENTS (90) - PLATFORM, CAB, BODYWORK AND DECALS
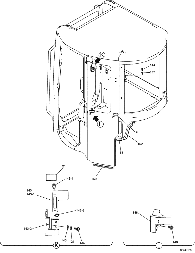
21
152
144
136
153
148
121
143
145
146
143-1
150
147
143-4
149
143-3
143-2
FIT
1:1
100%

Артикул

Название

Примечание

Количество

PW02C00015F1%C

CAB

Incl. Figures 180-01(1-01) - 180-01(5-01)

1шт.

21

PA33H01057P1

RUBBER

1шт.

121

PM02C01504D1

SHIM,0.5mm Thk

, Serial Range: PX12-11001-PX12-11150

1шт.

136

ZM46C06016

SCREW

2шт.

143

PW02C01265F1

BRACKET

Incl. 143-1 - 143-4

1шт.

143-1

PW02C01260P1

PLATE

1шт.

143-2

PW02C01261P1

PLATE

1шт.

143-3

PW02C01262P1

SPRING

1шт.

143-4

NSS

NOT SOLD SEPARAT

Pin

2шт.

144

YR02C01503P1

STOP

1шт.

145

PM02C01504D2

SHIM,1.0mm Thk

, Serial Range: PX12-11001-PX12-11150

2шт.

146

ZM46C06030

BOLT

, Serial Range: PX12-11001-PX12-11150

2шт.

147

ZN17C10006

NUT

1шт.

148

PW02C01239P1

HOLDER

, Serial Range: PX12-11001-PX12-11150

1шт.

149

YT02C01081D1

SEAL

, Serial Range: PX12-11001-PX12-11150

1шт.

149

PY02C01087P1

STOP

, Start Serial: PX12-11151

1шт.

150

PW02C01342D1

WEATHERSTRIP

1шт.

152

PF21C01175D2

RUBBER

, Start Serial: PX12-11139

1шт.

153

PF21C01175D3

RUBBER

, Start Serial: PX12-11139

1шт.

Выбрано товаров: 19