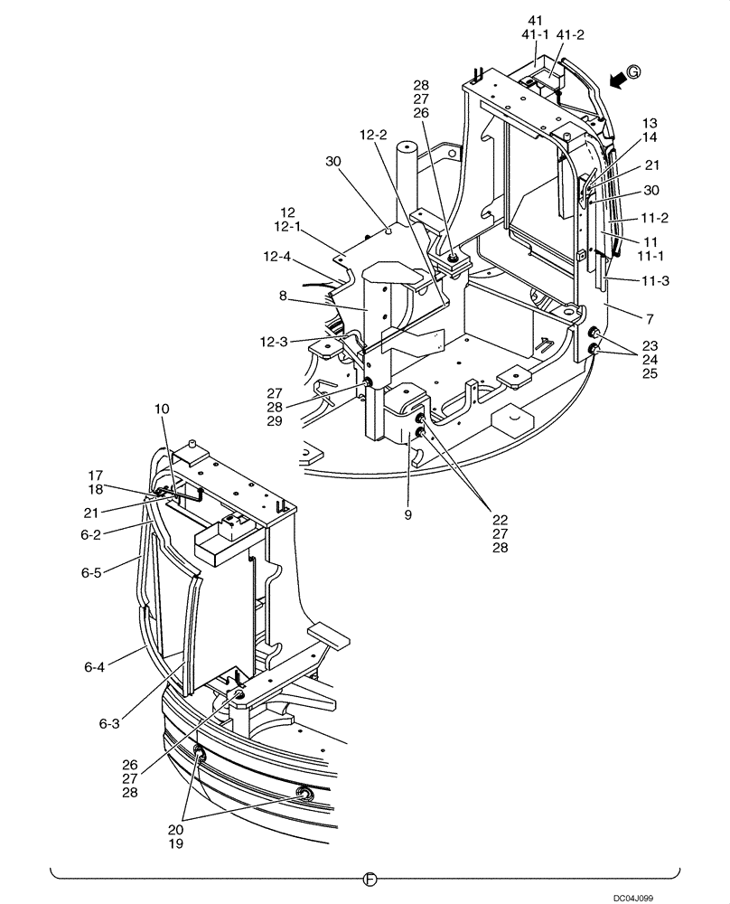
Запчасти Case CX36B (240-01[4-02]) - HOODS (CANOPY) (90) - PLATFORM, CAB, BODYWORK AND DECALS

Схема запчастей Case CX36B - (240-01[4-02]) - HOODS (CANOPY) (90) - PLATFORM, CAB, BODYWORK AND DECALS
14
21
29
28
30
27
11-1
10
12-3
19
12-1
12-4
11-3
22
27
11-2
24
28
26
25
17
11
41-2
6-3
41
27
28
9
27
21
18
20
30
28
41-1
26
6-5
6-4
12
13
8
23
12-2
7
6-2
FIT
1:1
100%

Артикул

Название

Примечание

Количество

PW22C01151F1

DUCT

Incl. 6-2 - 6-5

1шт.

6-2

YJ21C01079D2

WEATHERSTRIP

1шт.

6-3

YT21C01163D3

WEATHERSTRIP

1шт.

6-4

YT21C01163D7

WEATHERSTRIP

1шт.

6-5

YJ21C01079D7

WEATHERSTRIP

1шт.

7

PW21C01656P1

SUPPORT

1шт.

8

PW21C01653P1

STAY

1шт.

9

PW21C01652P1

BRACKET

1шт.

10

PW21C01669P1

STAY

1шт.

11

PW21C01681F1

PLATE ASSY.

Incl. 11-1 - 11-3

1шт.

11-1

PW21C01649P2

PLATE

1шт.

11-2

2427P1836D28

WEATHERSTRIP

1шт.

11-3

LE21C01070DQ

WEATHERSEAL STRIP

1шт.

12

PW21C01660F1

GUARD ASSY.

Incl. 12-1 - 12-4

1шт.

12-1

PW21C01661P1

GUARD

1шт.

12-2

YT21C01037D1

TRIM PANEL

1шт.

12-3

YJ21C01146D1

TRIM PANEL

1шт.

12-4

YJ21C01146D5

SOFT TRIM

1шт.

13

PW21C01689P1

STRIKER PLATE

1шт.

14

PW21C01699D1

SHIM

2шт.

17

ZW16X08000

WASHER,8mm ID x 17mm OD x 1.6mm Thk

1шт.

18

2419R9D2

COTTER PIN

OD 08mm x 27.7mm Long

1шт.

19

PA41C01005D3

BOLT

2шт.

20

YT21C01187P1

WASHER

2шт.

21

PA21C01133P1

BOLT

4шт.

22

ZS18C12045

SCREW,Hex, M12 x 45mm

2шт.

23

ZS18C16050

SCREW,Hex, M16 x 50mm

2шт.

24

ZW26X16000

LOCK WASHER

2шт.

25

ZW16H16000

WASHER

2шт.

26

ZS18C12050

SCREW,Hex, M12 x 50mm

2шт.

27

ZW26X12000

LOCK WASHER

6шт.

28

2418T10357

WASHER

6шт.

29

ZS18C12035

SCREW,Hex, M12 x 35mm

2шт.

30

ZM22C08020

BOLT

4шт.

41

PW21C01741F1

BOX

Incl. 41-1, 41-2

1шт.

41-1

PW21C01748P1

BOX

1шт.

41-2

PW21C01729P2

RUBBER

1шт.

Выбрано товаров: 37