Запчасти Case CX36B (07-002) - VALVE ASSY, CONTROL (DOZER) P/N PX30V00048F1 (35) - HYDRAULIC SYSTEMS

Схема запчастей Case CX36B - (07-002) - VALVE ASSY, CONTROL (DOZER) P/N PX30V00048F1 (35) - HYDRAULIC SYSTEMS
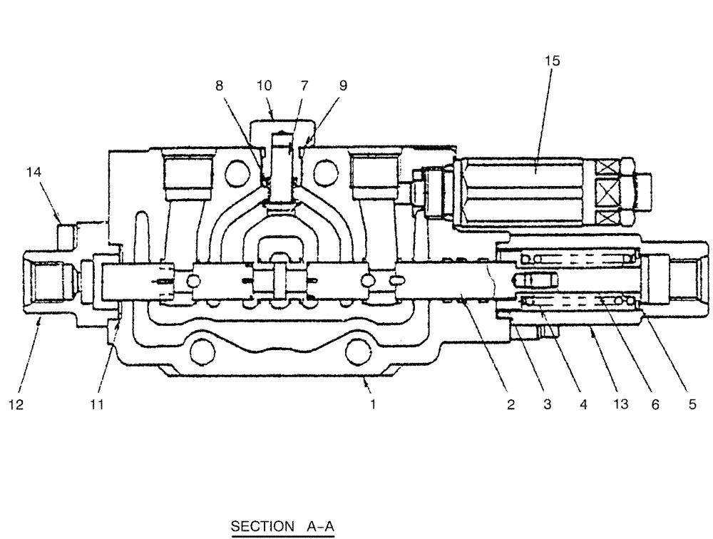
5
15
11
1
10
12
9
4
6
13
7
3
2
14
8
FIT
1:1
100%

Артикул

Название

Примечание

Количество

PX30V00048F1

VALVE SECTION

ASSY, DOZER

1шт.

1

NSS

NOT SOLD SEPARAT

BODY

1шт.

2

NSS

NOT SOLD SEPARAT

SPOOL

1шт.

3

NSS

NOT SOLD SEPARAT

SEAT, SPRING

1шт.

4

NSS

NOT SOLD SEPARAT

1шт.

5

NSS

NOT SOLD SEPARAT

SEAT, SPRING

1шт.

6

NSS

NOT SOLD SEPARAT

BOLT, SPACER

1шт.

7

PH30V00003S006

POPPET

1шт.

8

PH30V00003S007

SPRING

1шт.

9

ZD12P01100

O-RING

1шт.

10

PH30V00003S009

PLUG

1шт.

11

PW30V01008S011

O-RING

2шт.

12

PM30V00021S012

COVER

1шт.

13

PM30V00021S013

COVER

1шт.

14

PM30V00021S014

SCREW

4шт.

15

PM22V00005F3

VALVE PRESSURE RELIE

ASSY, OVERLOAD RELIEF, SEE (HC019)

1шт.

PX30V00048R100

REPAIR KIT

(CONSISTS OF REF. 2X1, 3X1, 4X1, 5X1, 6X1)

1шт.

Выбрано товаров: 0