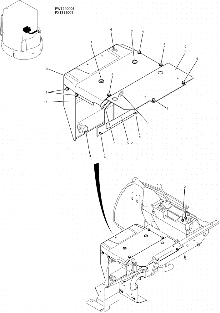
/ / / / / / / / (01-060) - HEATER ASSY (WITHOUT HEATER)
Запчасти Case CX36B (01-060) - HEATER ASSY (WITHOUT HEATER) (50) - CAB CLIMATE CONTROL
PW21M00012F1
HEATER ASSY
1шт.
1
2420Z1042
GROMMET
1шт.
2
PW17M01021P1
CAP
2шт.
4
PA03M01093D2
BOLT
SEMS
14шт.
6
PM22C01013DB
WEATHERSEAL STRIP
1шт.
7
2420R429D4
GROMMET
2шт.
9
PW10M01267F1
COVER ASSY
1шт.
9-1
PW21M01025P1
SUPPORT
1шт.
9-2
PW10M01145P2
FOAM INSULATION
1шт.
10
PW03M01862P1
COVER
1шт.
11
PW10M01280P1
COVER
1шт.
Выбрано товаров: 0