Запчасти Case CX36B (03-005) - CYLINDER INSTAL (CAB) (35) - HYDRAULIC SYSTEMS

Схема запчастей Case CX36B - (03-005) - CYLINDER INSTAL (CAB) (35) - HYDRAULIC SYSTEMS
b1
b6
b3
a3
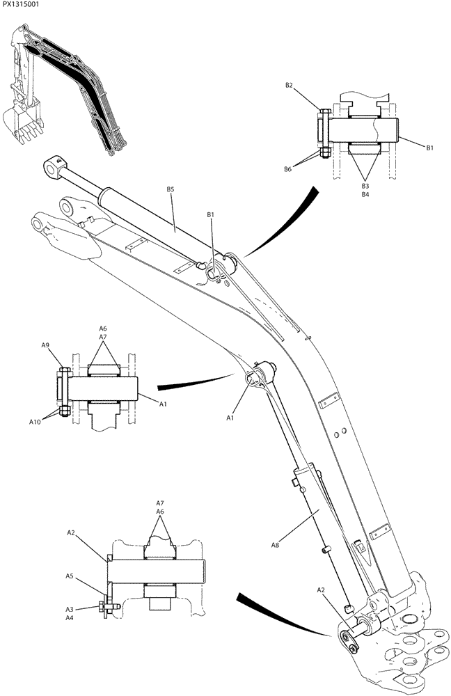
a1
b4
b5
a9
a6
a4
a10
a7
a1
a2
a5
b2
a2
a8
b1
a7
a6
FIT
1:1
100%

Артикул

Название

Примечание

Количество

PX02B00145F1

CYLINDER INSTAL

1шт.

a1

PW02B01306P1

PIN,45mm OD x 151mm L

1шт.

a2

PX02B01263P1

PIN,45mm OD x 187mm L

PIN

1шт.

a3

ZS18C10020

SCREW,Hex, M10 x 20mm

Cap

1шт.

a4

ZW26X10000

LOCK WASHER

1шт.

a5

2418T21137

WASHER

1шт.

a6

YJ12B01097P1

SHIM,47mm ID x 70mm OD x 0.5mm Thk

2шт.

a7

PR02B01121D1

SHIM,47mm ID x 70mm OD x 0.9mm Thk

3шт.

a8

PX01V00065F1

HYDRAULIC CYLINDER,Double Acting, 45mm Rod, 535mm Stroke

CYLINDER ASSY, BOOM

1шт.

SEE (C.P.M)

1шт.

a9

HS18C10085G2

BOLT

CAP

1шт.

a10

ZN18C10008

NUT

2шт.

PW02B00141F1

CYLINDER INSTAL

1шт.

b1

PW02B01306P1

PIN,45mm OD x 151mm L

1шт.

b2

HS18C10085G2

BOLT

CAP

1шт.

b3

YJ12B01097P1

SHIM,47mm ID x 70mm OD x 0.5mm Thk

1шт.

b4

PR02B01121D1

SHIM,47mm ID x 70mm OD x 0.9mm Thk

2шт.

b5

PX01V00063F1

CYLINDER

CYLINDER ASSY, ARM

1шт.

SEE (C.P.M)

1шт.

b6

ZN18C10008

NUT

2шт.

Выбрано товаров: 20