Запчасти Case CX36B (01-037[02]) - HYD LINES, UPP (35) - HYDRAULIC SYSTEMS

Схема запчастей Case CX36B - (01-037[02]) - HYD LINES, UPP (35) - HYDRAULIC SYSTEMS
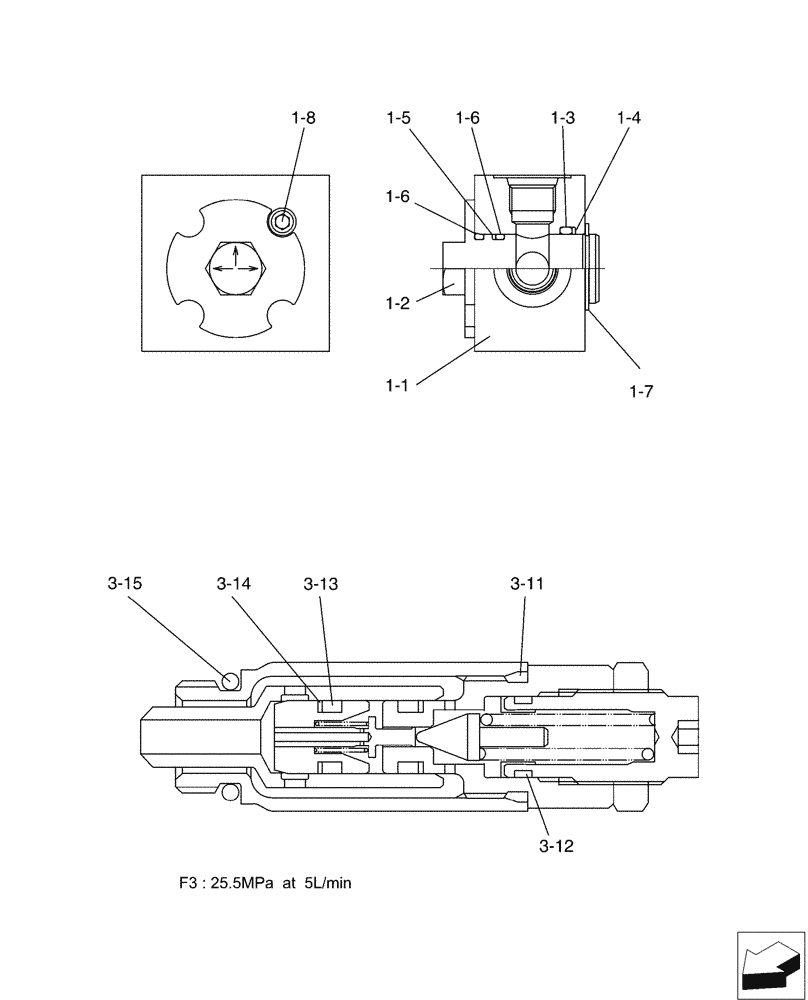
3-13
1-2
1-1
3-14
1-7
3-12
3-11
1-5
1-3
3-15
1-6
1-4
1-8
1-6
FIT
1:1
100%

Артикул

Название

Примечание

Количество

PA30V00005F1

VALVE

Selector, Incl 1-1 - 1-8

1шт.

1-1

PA30V01011P1

BODY

1шт.

1-2

PA30V01012P1

SHAFT

1шт.

1-3

ZD12G02500

O-RING,24.40mm ID x 30.60mm OD x 3.10mm

1шт.

1-4

ZD75G02500

BACK-UP RING

1шт.

1-5

ZD85P02100

RING

Back-Up

1шт.

1-6

ZD12P02100

O-RING,2.4mm Thk x 20.8mm ID, 90 Duro

O-Ring

2шт.

1-7

ZR16X02500

RING

Snap

1шт.

1-8

ZS28C06010

CAPSCREW,Hex Socket Head, M6 x 10mm

1шт.

PM22V00005F3

VALVE PRESSURE RELIE

Incl 3-11 - 3-15

1шт.

3-11

ZD12P01500

O-RING

1шт.

3-12

2436R612S13

O-RING

1шт.

3-13

PH22V00003S013

O-RING

2шт.

3-14

PH22V00003S014

BACK-UP RING

2шт.

3-15

ZD12P01400

O-RING

1шт.

Выбрано товаров: 15