Запчасти Case CX36B (01-063[05]) - CONTROL LINES, VALVE (WITH A PUMP Z PORT) (35) - HYDRAULIC SYSTEMS

Схема запчастей Case CX36B - (01-063[05]) - CONTROL LINES, VALVE (WITH A PUMP Z PORT) (35) - HYDRAULIC SYSTEMS
3
6
7
13
11
14
15
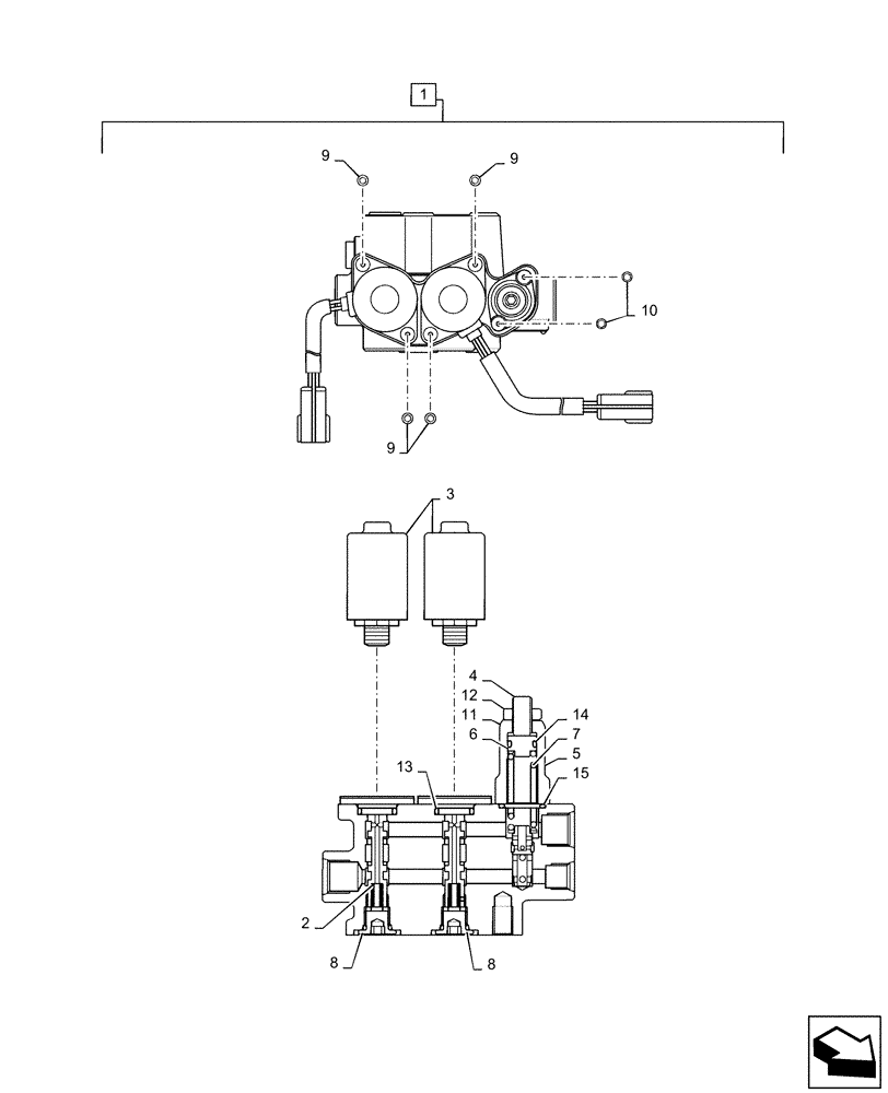
1
2
8
8
4
9
10
12
5
9
9
FIT
1:1
100%

Артикул

Название

Примечание

Количество

.

Control Lines Valve, With A Pump Z Port, PW64H00099F1

1шт.

1

PY35V00010F1

SOLENOID VALVE

Assy, Incl 2 - 15 , Start Serial: PX15-22088

1шт.

2

2436U2802S3

SPRING

2шт.

3

PY35V00009S007

SOLENOID

2шт.

4

PY35V00009S008

SCREW

1шт.

5

PY35V00009S009

COVER

1шт.

6

PY35V00009S010

PLUG

1шт.

7

LE35V00003S013

SPRING

1шт.

8

LC35V00004S007

PLUG

2шт.

9

LC35V00004S008

SCREW

Cap

4шт.

10

PY35V00009S014

SCREW

Cap

2шт.

11

LE35V00003S018

WASHER

1шт.

12

PY35V00009S015

NUT

1шт.

13

ZD11P01600

O-RING

2шт.

14

ZD12P01100

O-RING

3шт.

15

PY35V00009S019

O-RING

1шт.

Выбрано товаров: 16