Запчасти Case CX36B (02-005[02]) - JOINT INSTALL, SWIVEL (35) - HYDRAULIC SYSTEMS

Схема запчастей Case CX36B - (02-005[02]) - JOINT INSTALL, SWIVEL (35) - HYDRAULIC SYSTEMS
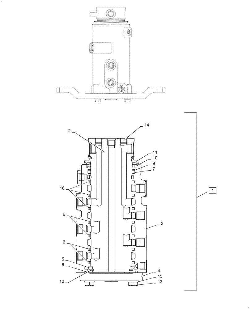
13
6
15
9
8
7
11
3
1
10
14
6
4
2
5
16
12
FIT
1:1
100%

Артикул

Название

Примечание

Количество

1

PW55V00015F2

JOINT ASSY.

Swivel, Incl 2 - 16

1шт.

2

PW55V00015S001

SHAFT

1шт.

3

PW55V00015S002

ROTOR

1шт.

4

PW55V00001S003

FLANGE

1шт.

5

PW55V00001S004

SPACER

1шт.

6

PW55V00015S006

SEAL

4шт.

7

ZD12P08000

O-RING

1шт.

8

ZD12G09500

O-RING,3.1mm Thk x 94.4mm ID, 90 Duro

1шт.

9

ZD75P08000

BACK-UP RING

1шт.

10

PW55V00001S010

SEAL

Dust

1шт.

11

PW55V00001S011

SEAL

Dust

1шт.

12

PW55V00001S012

SNAP RING

Retaining

1шт.

13

ZS13C10030

SCREW

Cap

4шт.

14

ZE82T04000

PLUG

3шт.

15

ZW22K10000

LOCK WASHER

Lock

4шт.

16

PW55V00015S017

SEAL

3шт.

Выбрано товаров: 16