Запчасти Case CX36B (03-028[00]) - BUCKET ASSY, 600W 0.11M³ (0.10M³) (84) - BOOMS, DIPPERS & BUCKETS

Схема запчастей Case CX36B - (03-028[00]) - BUCKET ASSY, 600W 0.11M³ (0.10M³) (84) - BOOMS, DIPPERS & BUCKETS
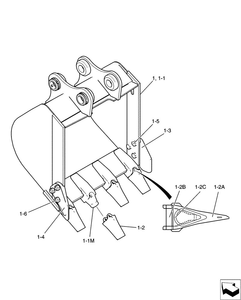
1-2
1-1m
1-3
1-1
1-2c
1-4
1-5
1-6
1-2a
1-2b
1
FIT
1:1
100%

Артикул

Название

Примечание

Количество

.

PX61B00092F1

BUCKET

600w

1шт.

1

PX61B00093F1

BUCKET

1шт.

1-1

NSS

NOT SOLD SEPARAT

Bucket, PX61B00094P1, Incl 1-1M

1шт.

1-1m

YJ61B01001P1

ADAPTER

4шт.

1-2

YJ69B00002F1

BUCKET TOOTH

Assembly, Incl 1-2A - 1-2C

4шт.

1-2a

YJ69B00002S001

BUCKET TOOTH

1шт.

1-2b

YJ69B00002S002

PIN

1шт.

1-2c

YJ69B00002S003

RUBBER

1шт.

1-3

PV69B00002P1

CUTTER

Side

1шт.

1-4

PV69B00003P1

CUTTER

Side

1шт.

1-5

ZS13C16040

SCREW

6шт.

1-6

ZN13C16013

NUT

6шт.

Выбрано товаров: 12