Запчасти Case CX36B (03-029[00]) - BUCKET ASSY, 350W 0.05M³ (0.04M³) (84) - BOOMS, DIPPERS & BUCKETS

Схема запчастей Case CX36B - (03-029[00]) - BUCKET ASSY, 350W 0.05M³ (0.04M³) (84) - BOOMS, DIPPERS & BUCKETS
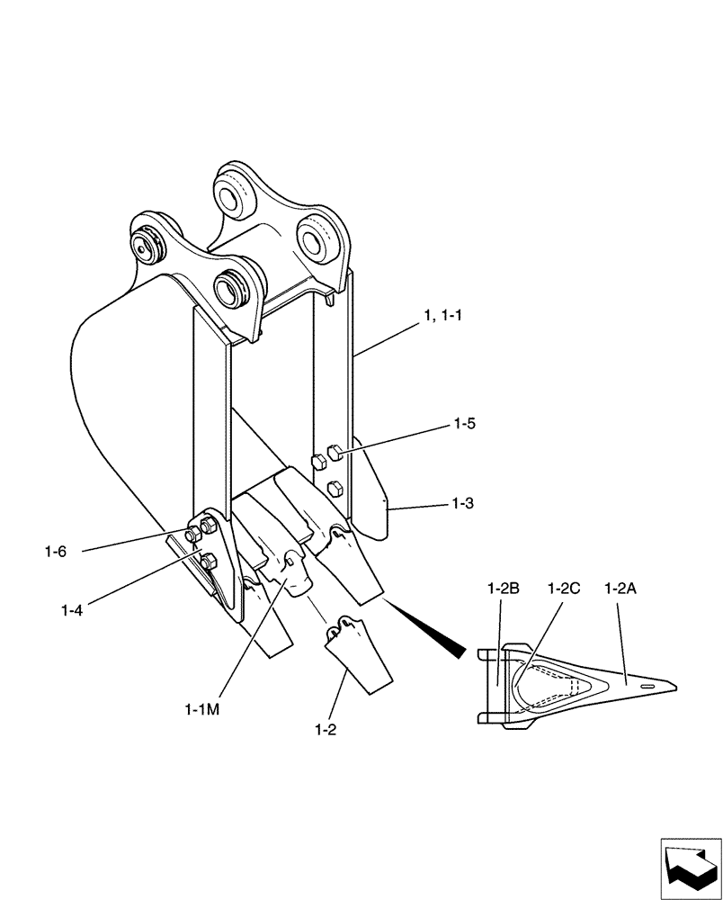
1-5
1-6
1-2
1-1m
1-3
1
1-2a
1-2c
1-2b
1-4
1-1
FIT
1:1
100%

Артикул

Название

Примечание

Количество

.

PX61B00095F1

BUCKET

350w

1шт.

1

PX61B00096F1

BUCKET

1шт.

1-1

NSS

NOT SOLD SEPARAT

Bucket, PX61B00097P1, Incl 1-1M

1шт.

1-1m

YJ61B01001P1

ADAPTER

3шт.

1-2

YJ69B00002F1

BUCKET TOOTH

Assembly, Incl 1-2A - 1-2C

3шт.

1-2a

YJ69B00002S001

BUCKET TOOTH

1шт.

1-2b

YJ69B00002S002

PIN

1шт.

1-2c

YJ69B00002S003

RUBBER

1шт.

1-3

PV69B00002P1

CUTTER

Side

1шт.

1-4

PV69B00003P1

CUTTER

Side

1шт.

1-5

ZS13C16040

SCREW

6шт.

1-6

ZN13C16013

NUT

6шт.

Выбрано товаров: 12