Запчасти Case CX36B (01-068[05]) - CAB INSTAL (90) - PLATFORM, CAB, BODYWORK AND DECALS

Схема запчастей Case CX36B - (01-068[05]) - CAB INSTAL (90) - PLATFORM, CAB, BODYWORK AND DECALS
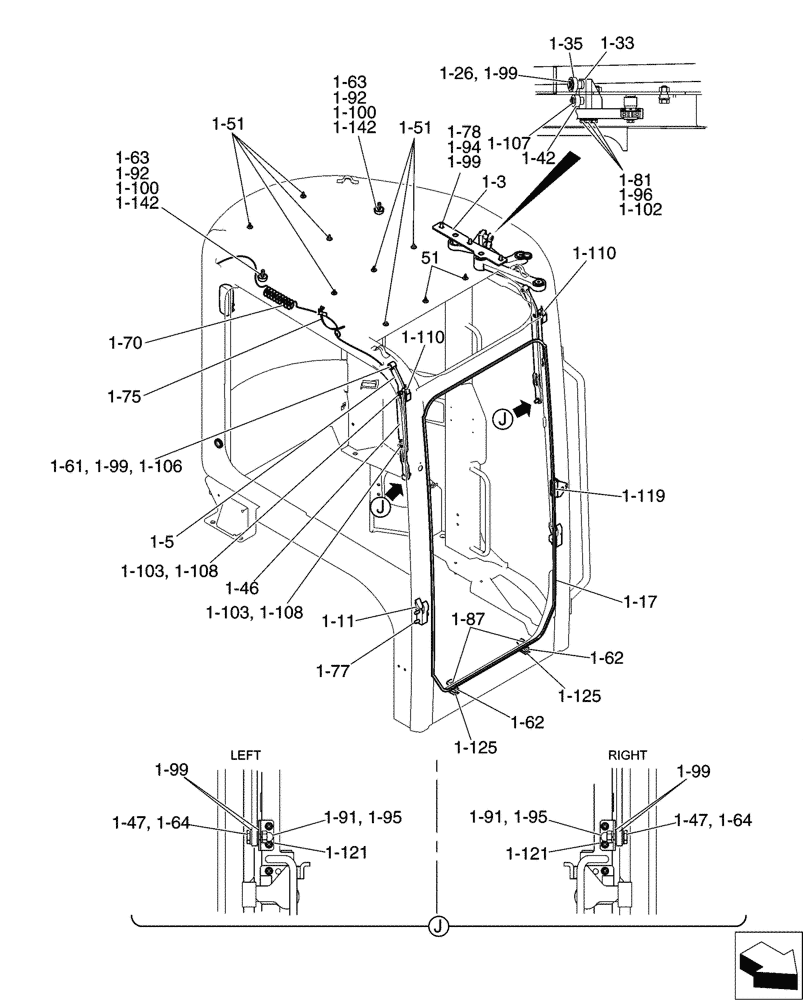
1-103
1-99
1-51
1-3
1-92
1-61
1-64
1-95
1-33
1-77
1-26
1-142
1-62
1-106
1-107
1-125
.
1-78
1-121
1-5
1-99
1-108
1-11
1-102
1-142
1-47
1-63
1-95
1-81
1-99
1-119
1-99
1-110
1-91
1-110
1-64
1-51
1-70
1-75
1-42
1-63
1-100
1-62
1-96
1-92
1-47
1-17
1-108
1-99
1-46
1-51
1-100
1-91
1-94
1-35
1-103
1-87
1-125
1-121
FIT
1:1
100%

Артикул

Название

Примечание

Количество

1-3

PW02C01071P1

BRACKET

1шт.

1-5

PW02C01391P1

LINK

1шт.

1-11

PW02C01115P1

STOP

1шт.

1-17

PW02C01185D1

SEAL,3900mm L

1шт.

1-26

ZR16X01200

RING

Snap

1шт.

1-33

PM02C01477P1

LINK

1шт.

1-35

PM02C01434P1

BEARING,12mm ID x 32mm OD x 10mm W

1шт.

1-42

YT50C01024P1

ROLLER

1шт.

1-46

PM02C01133P3

GAS STRUT

2шт.

1-47

PM02C01257P1

SPECIAL PIN

2шт.

1-51

YT02C01324P1

CLIP

9шт.

1-61

2405U104D012020

BUSHING

2шт.

1-62

PM02C01356P2

STOP

2шт.

1-63

YT02C01066P1

STOP

4шт.

1-64

2405U104D012008

BUSHING

2шт.

1-70

YT02C01104P3

HARNESS

1шт.

1-75

YN03E01001D5

CLIP

1шт.

1-77

ZM46C05025

BOLT

Sems

4шт.

1-78

ZS18C12030

SCREW,Hex, M12 x 30mm

Cap

3шт.

1-81

ZS18C08035

SCREW,Hex, M8 x 35mm

Cap

3шт.

1-87

ZS31C05025

SCREW,Phillips Drive, Pan HD, M5 x 25mm

Machine

2шт.

1-91

ZN46C10018

NUT

2шт.

1-92

ZN18F10008

NUT

4шт.

1-94

ZW26X12000

LOCK WASHER

3шт.

1-95

ZW26X10000

LOCK WASHER

2шт.

1-96

ZW26X08000

LOCK WASHER

14шт.

1-99

ZW16P12000

WASHER

12шт.

1-100

ZW16K10000

WASHER

4шт.

1-102

ZW16X08000

WASHER,8mm ID x 17mm OD x 1.6mm Thk

9шт.

1-103

ZW16X06000

WASHER

8шт.

1-106

ZR36X01000

RING

Snap

2шт.

1-107

ZR36X00700

RING

Snap

1шт.

1-108

ZR36X00500

SNAP RING

Snap

4шт.

1-110

PM02C01396P1

STOP

2шт.

1-119

PM02C01212P1

BLOCK

Tapped

1шт.

1-121

PM02C01504D1

SHIM,0.5mm Thk

2шт.

1-125

PM02C01505P1

SHIM,1.0mm Thk

4шт.

1-142

2418T5373C2

WASHER

2шт.

.

PW41C00014P1

Upper

HANDRAIL

1шт.

Выбрано товаров: 39