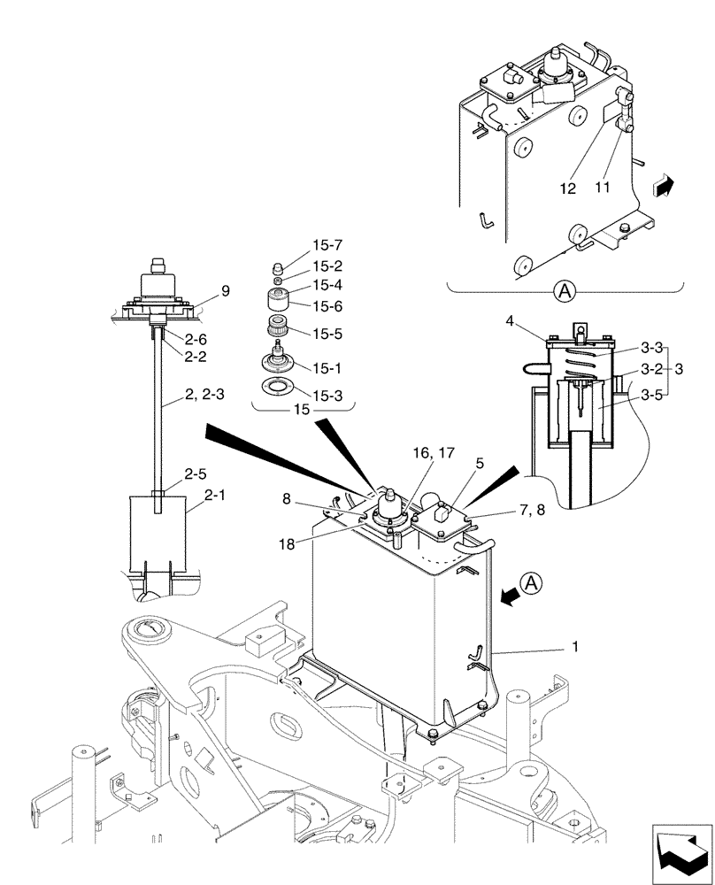
Запчасти Case CX36B (01-024[00]) - TANK ASSY, HYD - NIBBLER & BREAKER (35) - HYDRAULIC SYSTEMS

Схема запчастей Case CX36B - (01-024[00]) - TANK ASSY, HYD - NIBBLER & BREAKER (35) - HYDRAULIC SYSTEMS
15-7
2-3
5
15-5
2-5
18
16
15-6
7
4
15-3
3-2
3
11
3-5
15-1
12
9
8
1
15-2
2-1
15-4
2-6
8
15
17
2
2-2
3-3
FIT
1:1
100%

Артикул

Название

Примечание

Количество

PW33H00050F1

Assy., Hyd. (Nibbler & Breaker)

1шт.

1

PW33H00043P2

TANK

1шт.

2

PW50V00015F1

STRAINER ASSY.

Suction

1шт.

2-1

PM50V00017S001

FILTER STRAINER

1шт.

2-2

2446R176S2

HOLDER

1шт.

2-3

PM50V00017S006

BOLT

1шт.

2-5

ZN11C10008

NUT

2шт.

2-6

2446R176S5

SPRING

1шт.

3

PW52V01001F2

HYDRAULIC OIL FILTER

Assembly, Return

1шт.

3-2

PW21V00004P1

VALVE

Check

1шт.

3-3

YR52V01001S004

SPRING

1шт.

3-5

YR52V01003P2

HYDRAULIC OIL FILTER

Return

1шт.

4

ZD11G11000

O-RING,109.40mm ID x 115.60mm OD x 3.10mm

1шт.

5

PM33H01083P2

COVER

1шт.

8

ZM73C08016

BOLT,M8x16mm - Course Thread

Sems

8шт.

9

ZD11G11500

O-RING,114.40mm ID x 120.60mm OD x 3.10mm

1шт.

11

YN58S00009F3

GAUGE ASSY.

Level, Oil

1шт.

12

YF33H01020P1

LABEL

1шт.

15

YN57V00002F4

BREATHER ASSY.

1шт.

15-5

YN57V00002S010

ELEMENT

1шт.

16

ZS28C06016

SCREW,Hex Socket Head, M6 x 16mm

4шт.

17

ZW26K06000

LOCK WASHER

4шт.

18

PW33H01146P1

COVER

1шт.

PW52V01001R200

ELEMENT

Consists Of Ref: 3-5 (1), 4(1)

1шт.

Выбрано товаров: 24